授权公布号:CN207514452U
一种多重固定卡箍
有效
申请
2017-12-01
申请公布
1970-01-01
授权
2018-06-19
预估到期
2027-12-01
| 申请号 | CN201721652971.X |
| 申请日 | 2017-12-01 |
| 授权公布号 | CN207514452U |
| 授权公告日 | 2018-06-19 |
| 分类号 | F16L33/16 |
| 分类 | 工程元件或部件;为产生和保持机器或设备的有效运行的一般措施;一般绝热; |
| 申请人名称 | 四川长鑫管业有限公司 |
| 申请人地址 | 四川省乐山市沙湾区嘉农镇燎原村4组 |
专利法律状态
2018-06-19
授权
状态信息
授权
摘要
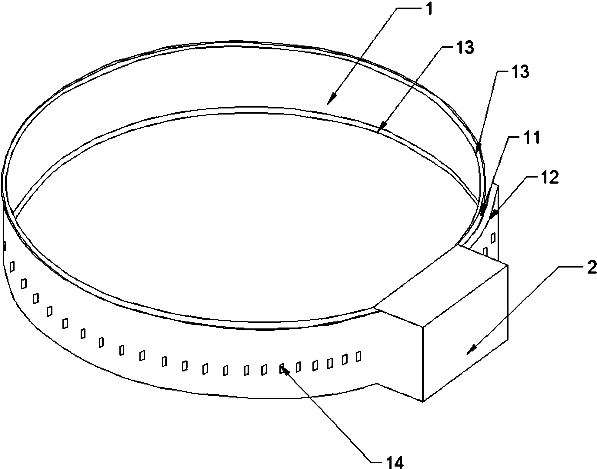
本实用新型公开了一种多重固定卡箍,包括卡箍本体,卡箍本体由软质橡胶带围合而成,软质橡胶带一端为固定端,另一端为移动端,其特征在于,所述固定端连接有挤压机构,所述软质橡胶带的外侧面上设置有若干倾斜的卡槽,若干卡槽呈环形分布;所所述挤压机构包括壳体,壳体中空且两端开口,壳体一端开口与所述固定端固定连接,所述移动端从壳体另一端开口伸入壳体并卡紧,壳体的内侧壁设置有若干倾斜的卡扣和若干充气挤压结构,卡扣与所述卡槽配合设置,充气挤压结构用于压紧伸入壳体内的所述移动端;本实用新型具有结构简单,对软质橡胶带具有多重固定的作用。


