授权公布号:CN214919604U
薄壁不锈钢管件水涨成型冲针底座连接结构
有效
申请
2020-12-08
申请公布
1970-01-01
授权
2021-11-30
预估到期
2030-12-08
| 申请号 | CN202022917279.3 |
| 申请日 | 2020-12-08 |
| 授权公布号 | CN214919604U |
| 授权公告日 | 2021-11-30 |
| 分类号 | B21D26/033 |
| 分类 | 基本上无切削的金属机械加工;金属冲压; |
| 申请人名称 | 四川长鑫管业有限公司 |
| 申请人地址 | 四川省乐山市沙湾区嘉农镇燎原村4组 |
专利法律状态
2021-11-30
授权
状态信息
授权
摘要
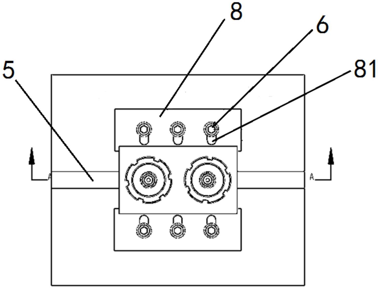
本实用新型公开了薄壁不锈钢管件水涨成型冲针底座连接结构,其特征在于,包括由冲针、冲针座、冲针座底座、外螺纹套、定位键销、压板螺钉、铜垫片和压板,所述定位键销设置在连接板上,定位键销上方两侧设置有两块压板,两块压板连接线与定位键销轴线水平垂直,所述冲针座底座设置于定位键销上方,冲针座底座上方开有两个盲孔,盲孔底部设置有铜垫片,铜垫片上方设置有冲针座,冲针座上设置有冲针,所述外螺纹套设置于盲孔上部,通过外螺纹套将冲针座进行固定。通常对于双出冲针座底座而言,两根冲针之间的间距较小,通常在60—90mm之间,由于空间狭小,对于上述第一种连接方案,安装拆卸都存在较大的困难。


