授权公布号:CN208728969U
一种不锈钢钢管拼接焊接装置
有效
申请
2018-08-30
申请公布
1970-01-01
授权
2019-04-12
预估到期
2028-08-30
| 申请号 | CN201821414310.8 |
| 申请日 | 2018-08-30 |
| 授权公布号 | CN208728969U |
| 授权公告日 | 2019-04-12 |
| 分类号 | B23K31/02;B23K37/00 |
| 分类 | 机床;不包含在其他类目中的金属加工; |
| 申请人名称 | 江苏道成不锈钢管业有限公司 |
| 申请人地址 | 江苏省南京市沿江工业开发区中山科技园赢鑫路22号 |
专利法律状态
2019-04-12
实用新型专利权授予
状态信息
授权
摘要
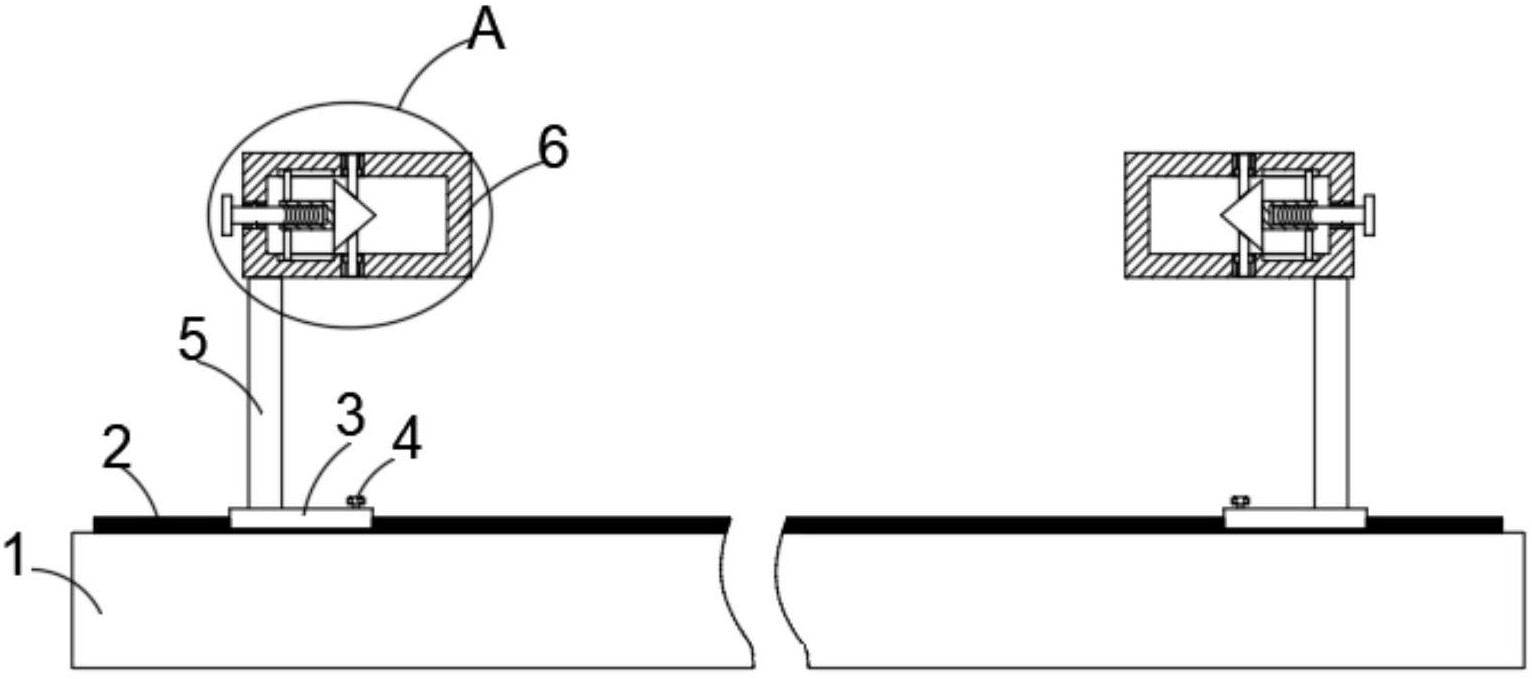
本实用新型公开了一种不锈钢钢管拼接焊接装置,包括底座,所述底座的上侧侧壁上通过滑动装置对称连接有两个竖直设置的支撑杆,且两个支撑杆远离底座的一侧侧壁上均设有横向设置的安装块,两个所述安装块对称设置且均为中空结构,且安装块的内壁上均对称设有两个横向设置的滑槽,所述滑槽中均滑动连接有与其相匹配的滑杆,两个所述滑杆之间固定连接有横向设置的套管,所述套管的一端设有锥形块,所述安装块的外侧侧壁上均环绕设有多个贯穿设置的通孔,且通孔中均通过导向装置连接有抵杆。本实用新型的不锈钢钢管拼接焊接装置可以保证两个钢管焊接前的同轴度,从而保证两个不锈钢钢管之间焊接的精度和平整度。


