授权公布号:CN214717399U
一种具有减震功能的水泥粉磨装置
有效
申请
2021-04-01
申请公布
1970-01-01
授权
2021-11-16
预估到期
2031-04-01
| 申请号 | CN202120671267.9 |
| 申请日 | 2021-04-01 |
| 授权公布号 | CN214717399U |
| 授权公告日 | 2021-11-16 |
| 分类号 | B02C23/04 |
| 分类 | 破碎、磨粉或粉碎;谷物碾磨的预处理; |
| 申请人名称 | 江西万年青水泥股份有限公司 |
| 申请人地址 | 江西省上饶市万年县 |
专利法律状态
2021-11-16
授权
状态信息
授权
摘要
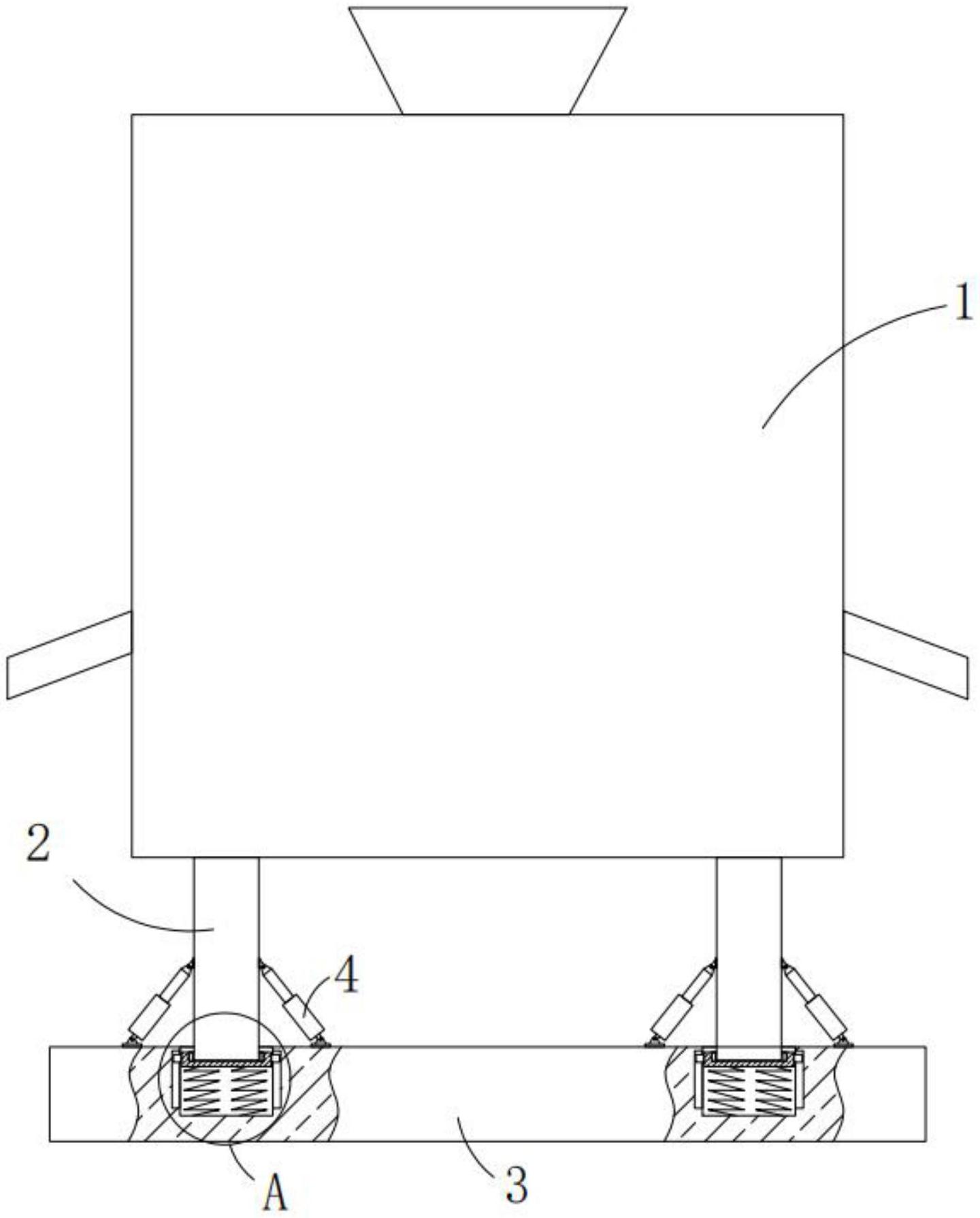
本实用新型公开了一种具有减震功能的水泥粉磨装置,包括水泥粉磨机本体和底座,所述底座上开设有第一凹槽,所述第一凹槽的内部固定安装有弹簧,所述弹簧的一端固定连接有固定板,所述固定板滑动安装于第一凹槽的内部,所述固定板上开设有第二凹槽,所述水泥粉磨机本体的下端固定安装有支腿,所述支腿的一端固定插接于第二凹槽的内部,所述底座和支腿上均固定安装有耳座,两组所述耳座之间通过圆杆转动安装有液压杆本实用新型在一定程度上提高了粉磨机的减震效果,使粉磨机工作过程更加平稳和安静,也减轻了对粉磨机内部零件的损伤,进而提高了粉磨机的使用寿命。


