授权公布号:CN217480316U
一种新型浴室花洒用水龙头
有效
申请
2022-05-10
申请公布
1970-01-01
授权
2022-09-23
预估到期
2032-05-10
| 申请号 | CN202221105053.6 |
| 申请日 | 2022-05-10 |
| 授权公布号 | CN217480316U |
| 授权公告日 | 2022-09-23 |
| 分类号 | E03C1/04;E03C1/06;F16L58/00 |
| 分类 | 给水;排水; |
| 申请人名称 | 瑞安市金都洁具有限公司 |
| 申请人地址 | 浙江省温州市瑞安市塘下镇场桥上灶工业区 |
专利法律状态
2022-09-23
授权
状态信息
授权
摘要
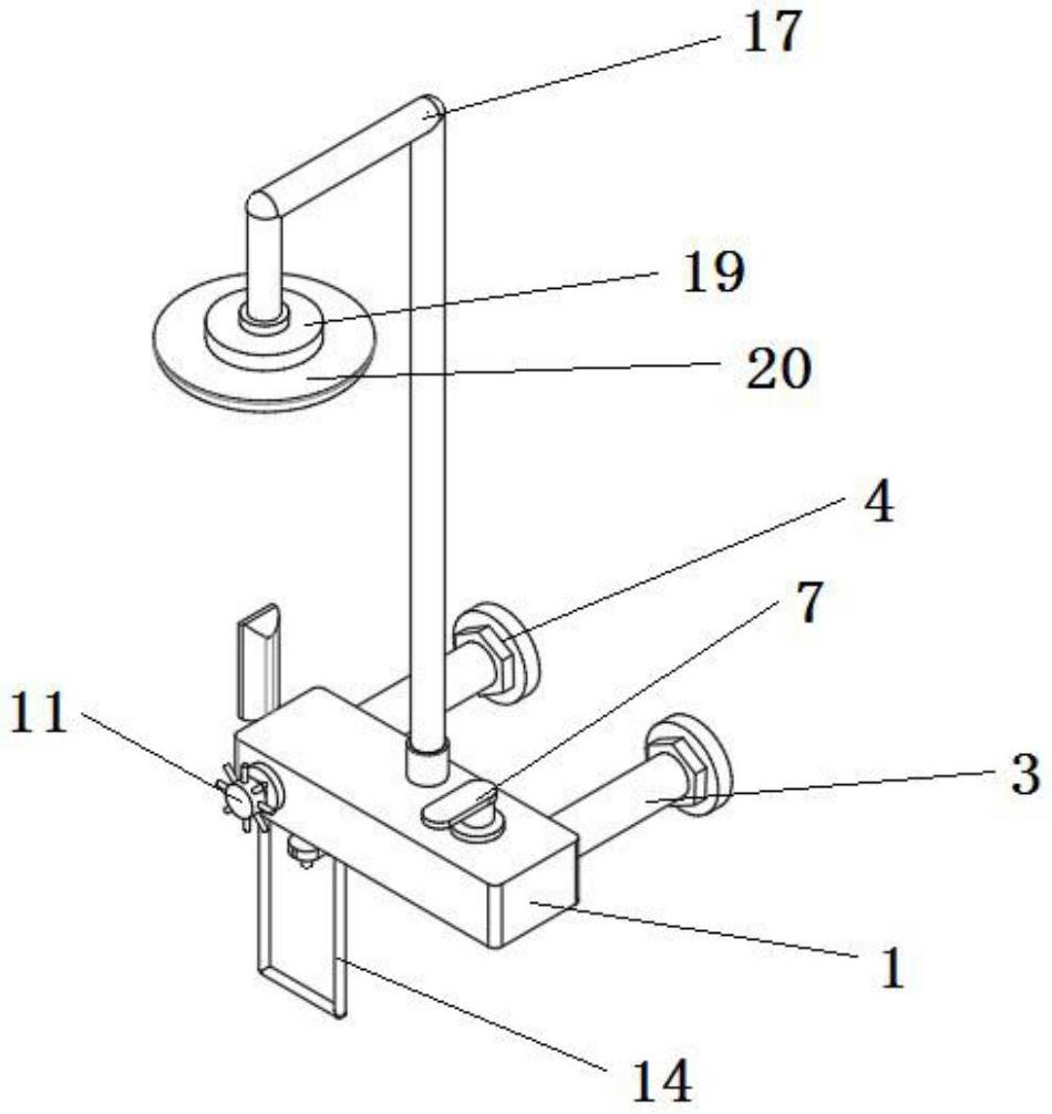
本实用新型公开了一种新型浴室花洒用水龙头,涉及水龙头技术领域。本实用新型包括调节箱,调节箱一侧面安装有进水管,进水管上表面连接有防护管,防护管一侧面安装有固定板,调节箱上表面安装有主水管,主水管下表面设置有安装螺纹,安装螺纹一侧面安装有安装块,安装块与安装螺纹转动配合,安装块下表面安装有洒水头,洒水头下表面开设有洒水孔。本实用新型通过安装螺纹与安装块的安装,利用安装螺纹和安装块转动配合,实现后期用户对洒水头使用不满意,方便后期对洒水头的更换;通过安装防护管和固定板,大大的加强了进水管的使用寿命,防止进水管长时间经过水的浸泡被腐蚀,安装固定板加强水龙头的稳定性。


