授权公布号:CN213298889U
一种防止结冰的阀门龙头
有效
申请
2020-09-21
申请公布
1970-01-01
授权
2021-05-28
预估到期
2030-09-21
| 申请号 | CN202022077838.4 |
| 申请日 | 2020-09-21 |
| 授权公布号 | CN213298889U |
| 授权公告日 | 2021-05-28 |
| 分类号 | F16K5/08;F16K37/00;F16K31/60;F16K27/06;F16K5/06;F16K49/00;F16L59/16 |
| 分类 | 工程元件或部件;为产生和保持机器或设备的有效运行的一般措施;一般绝热; |
| 申请人名称 | 瑞安市金都洁具有限公司 |
| 申请人地址 | 浙江省温州市瑞安市塘下镇场桥上灶工业区 |
专利法律状态
2021-05-28
授权
状态信息
授权
摘要
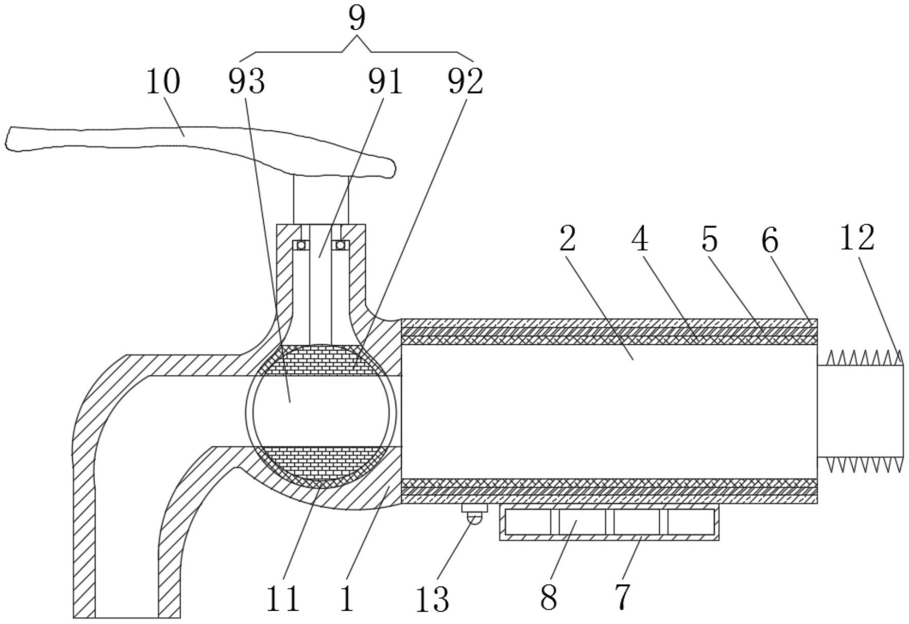
本实用新型公开了水龙头领域的防止结冰的阀门龙头,包括阀门龙头本体,所述阀门龙头本体外表面的右侧套接有外筒,所述外筒与阀门龙头本体之间呈螺旋型固定安装有加热电阻丝,本实用新型通过设置阀门组件,能够使阀门龙头本体进行正常作业,通过设置电池组,能够对加热电阻丝进行通电,从而使加热电阻丝对阀门龙头本体进行加热,避免阀门龙头本体结冰,通过设置第一保温层,能够对阀门龙头本体进行保温,通过设置防护层,能够对阀门龙头本体进行防护,避免阀门龙头本体损坏,通过设置以上结构,具备水龙头在使用的过程中,具有防冻的优点,解决了原有水龙头在使用的过程中,不具有防冻的问题,从而避免了影响工厂的正常作业。


