授权公布号:CN217341881U
一种节能型恒温浴室花洒水龙头
有效
申请
2022-04-19
申请公布
1970-01-01
授权
2022-09-02
预估到期
2032-04-19
| 申请号 | CN202220910555.X |
| 申请日 | 2022-04-19 |
| 授权公布号 | CN217341881U |
| 授权公告日 | 2022-09-02 |
| 分类号 | B05B1/24;B05B1/16 |
| 分类 | 一般喷射或雾化;对表面涂覆液体或其他流体的一般方法〔2〕; |
| 申请人名称 | 瑞安市金都洁具有限公司 |
| 申请人地址 | 浙江省温州市瑞安市塘下镇场桥上灶工业区 |
专利法律状态
2022-09-02
授权
状态信息
授权
摘要
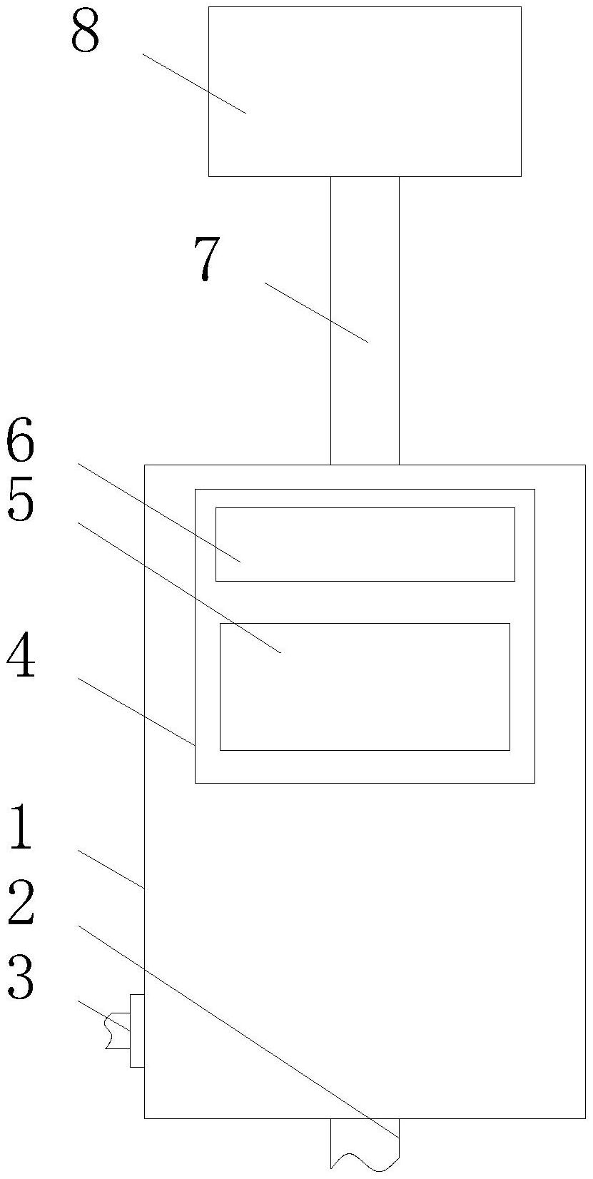
本实用新型公开了一种节能型恒温浴室花洒水龙头,包括安装壳,所述安装壳的底部连通有导水管,所述安装壳的顶部连通有连接管,所述安装壳的内部设置有加热箱,所述加热箱的顶部与底部分别与导水管和连接管连通,所述安装壳左侧的底部连通有供电电缆。本实用新型通过供电电缆和加热网对加热箱进行加热,从而实现对水进行加热,且安装壳的内部设置有蒸馏水,避免加热网导电导致使用者触电,通过设置第二安装块实现将热水喷出,同时通过调节第二安装块的位置使其喷出的水柱形状改变,从而满足不同的需要,同时解决了花洒在使用时其内部未设置有加热装置,在使用时无法调节其内部的温度,从而影响使用效果的问题。


