授权公布号:CN214502017U
一种水泥粉磨用水泥原料干燥装置
有效
申请
2021-04-02
申请公布
1970-01-01
授权
2021-10-26
预估到期
2031-04-02
| 申请号 | CN202120674721.6 |
| 申请日 | 2021-04-02 |
| 授权公布号 | CN214502017U |
| 授权公告日 | 2021-10-26 |
| 分类号 | F26B17/04;F26B23/00;F26B25/00;F26B25/02;F26B25/04 |
| 分类 | 干燥; |
| 申请人名称 | 江西万年青水泥股份有限公司 |
| 申请人地址 | 江西省上饶市万年县 |
专利法律状态
2021-10-26
授权
状态信息
授权
摘要
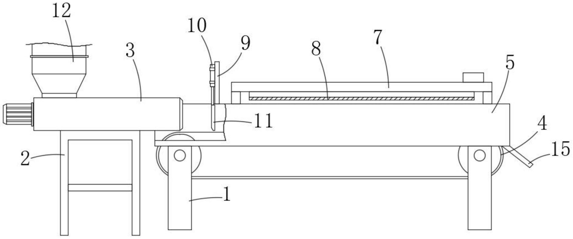
本实用新型公开了一种水泥粉磨用水泥原料干燥装置,包括螺旋输送器与带式输送机,所述带式输送机固定安装在第一机架的上部,所述螺旋输送器的出料口设置于带式输送机的一端上方,所述第一机架的上部固定连接有第一挡板与第二挡板,且第一挡板与第二挡板分别位于带式输送机的两侧侧部;通过带式输送机、刮板与加热板等结构的设计,通过螺旋输送器可将需要进行烘干的水泥物料输送至带式输送机的一端,并通过带式输送机对水泥进行输送和摊开,同时在带式输送机的一端设置可进行上下调节的刮板,通过上下的高度调节,可调节带式输送机传送带上水泥的厚度,进而调节加热板的烘干效果同时获得较为方便的水泥烘干干燥方式。


