授权公布号:CN213315690U
一种带有沐浴盒的花洒
有效
申请
2020-09-04
申请公布
1970-01-01
授权
2021-06-01
预估到期
2030-09-04
| 申请号 | CN202021913167.4 |
| 申请日 | 2020-09-04 |
| 授权公布号 | CN213315690U |
| 授权公告日 | 2021-06-01 |
| 分类号 | B05B7/08 |
| 分类 | 一般喷射或雾化;对表面涂覆液体或其他流体的一般方法〔2〕; |
| 申请人名称 | 瑞安市金都洁具有限公司 |
| 申请人地址 | 浙江省温州市瑞安市塘下镇场桥上灶工业区 |
专利法律状态
2021-06-01
授权
状态信息
授权
摘要
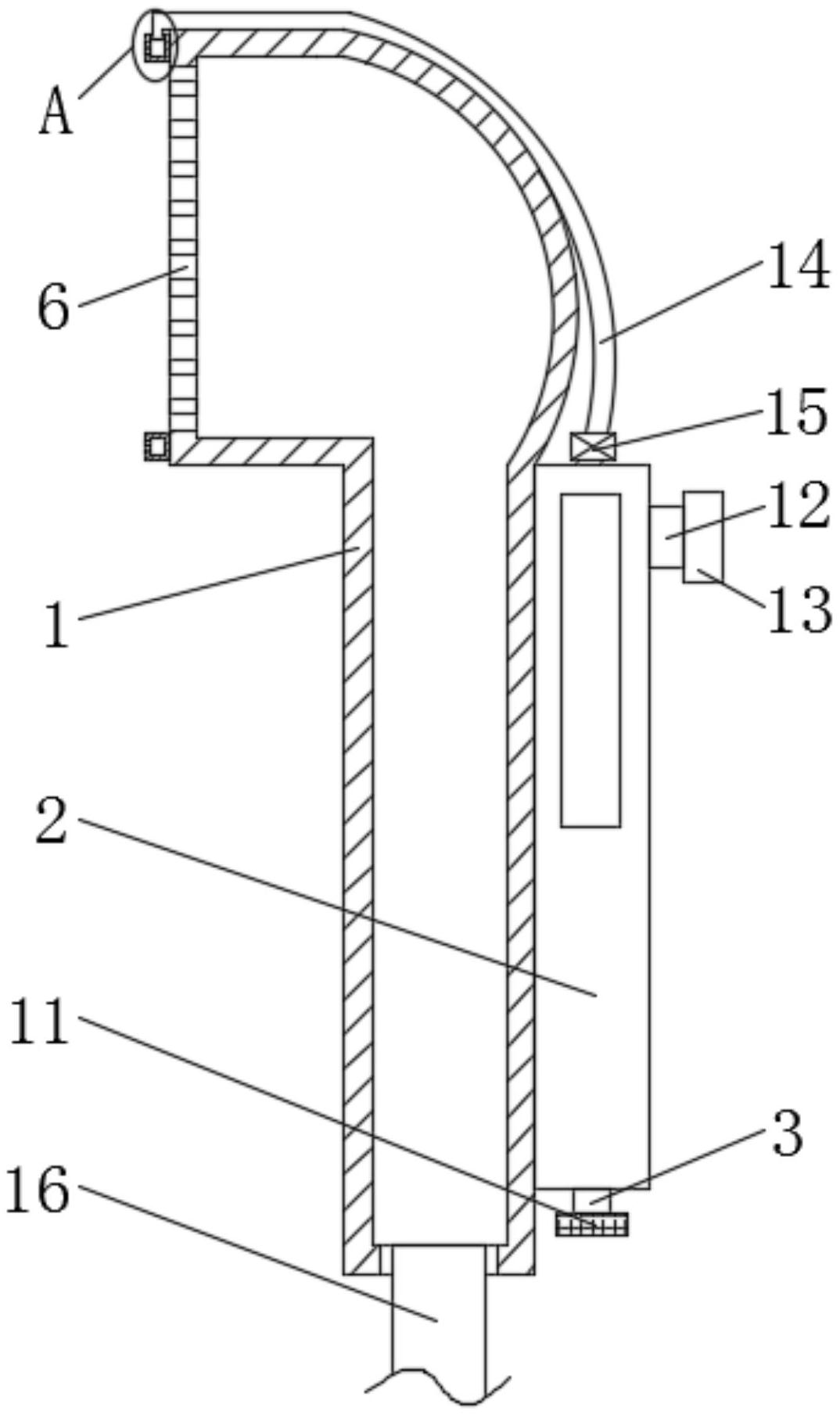
本实用新型公开了花洒领域的一种带有沐浴盒的花洒,包括花洒本体,所述花洒本体的右侧固定连接有沐浴盒,所述沐浴盒内腔的底部通过轴承转动连接有螺杆,所述螺杆的外表面螺纹连接有筒体,所述沐浴盒的内表面滑动连接有活塞,本实用新型通过设置转柄,使转柄带动螺杆在筒体的内腔螺纹转动,同时,筒体带动导向板在导向槽的内表面滑动,以及筒体带动活塞在沐浴盒的内表面滑动,使活塞推动沐浴液通过出料管进入储料管的内腔,然后储料管内腔的沐浴液通过漏料口漏出储料管的内腔,通过设置以上结构,具备花洒本体在洗浴时,能够便于涂抹沐浴液的优点,解决了原有花洒本体在洗浴时,不能够便于涂抹沐浴液的问题,从而提高了洗浴效率。


