授权公布号:CN214934253U
一种水泥生产用水泥提升输送设备
有效
申请
2021-04-05
申请公布
1970-01-01
授权
2021-11-30
预估到期
2031-04-05
| 申请号 | CN202120683496.2 |
| 申请日 | 2021-04-05 |
| 授权公布号 | CN214934253U |
| 授权公告日 | 2021-11-30 |
| 分类号 | B65G67/08;B65G21/08;B65G15/30;B65G41/00 |
| 分类 | 输送;包装;贮存;搬运薄的或细丝状材料; |
| 申请人名称 | 江西万年青水泥股份有限公司 |
| 申请人地址 | 江西省上饶市万年县 |
专利法律状态
2021-11-30
授权
状态信息
授权
摘要
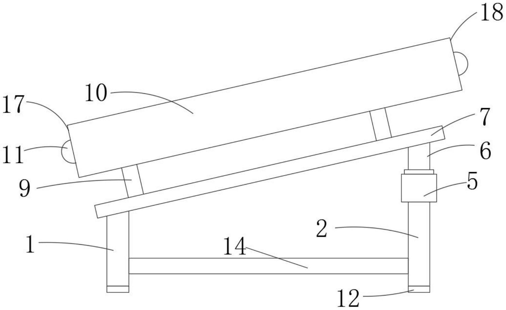
本实用新型公开了一种水泥生产用水泥提升输送设备,包括第一支腿和第二支腿,第一支腿设置有两组,两组第一支腿的内部均嵌装有密封轴承,第一支腿通过密封轴承转动连接有第一支杆,第一支杆的一端固定安装有第二支杆,第二支腿设置有一组,且第二支腿的上端固定安装有液压缸,液压缸的活塞端固定安装有第三支杆,第三支杆的上端一体成型有第四支杆,第四支杆滑动插接于第二支杆的内部,第二支杆的上端一体成型有第五支杆,第五支杆的上端固定安装有输送带罩,输送带罩内安装有带式输送机,在装置使用时,可以通过液压缸来调节出料口到合适的高度,更方便于装车工作的进行,可以有效地防止水泥的落到运输车的外部。


