授权公布号:CN207709516U
吊塔式通风装置
有效
申请
2017-12-05
申请公布
1970-01-01
授权
2018-08-10
预估到期
2027-12-05
| 申请号 | CN201721669271.1 |
| 申请日 | 2017-12-05 |
| 授权公布号 | CN207709516U |
| 授权公告日 | 2018-08-10 |
| 分类号 | B08B15/02 |
| 分类 | 清洁; |
| 申请人名称 | 辽宁育达科教装备有限公司 |
| 申请人地址 | 辽宁省辽阳市太子河区繁唐路一段8号 |
专利法律状态
2018-08-10
授权
状态信息
授权
摘要
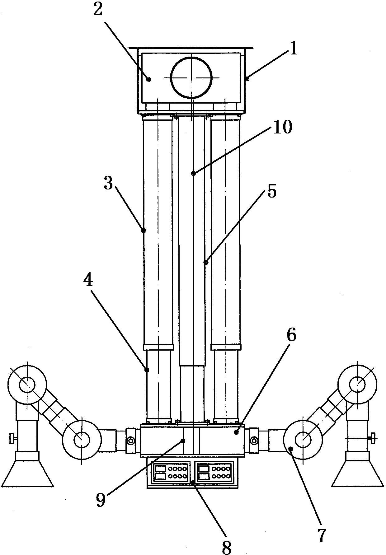
吊塔式通风装置涉及教学设备领域。主要是为解决现有实验室系统改变通风管道及各种电源线的布置费时费力等问题而设计的。它包括固定座,排风用的三通装在固定座上,三通的一个口与设在实验室顶棚上的排风管道连通,可伸缩的风管包括外套管和内套管,外套管的顶部都连接在固定座上并且分别与三通的另两个口相连通,内套管与外套管滑动接触;电动升降杆的上端固定在固定座上,电动升降杆的底部固定在排风分配箱上,内套管的下端也固定在排风分配箱上,四个万向吸风罩安装在排风分配箱上,排风分配箱在对应各万向吸风罩处都设有进风口。优点是改变线路容易,使用灵活方便。


