授权公布号:CN215111527U
一种可调节高度的智能吊装固定座
有效
申请
2021-05-13
申请公布
1970-01-01
授权
2021-12-10
预估到期
2031-05-13
| 申请号 | CN202121014077.6 |
| 申请日 | 2021-05-13 |
| 授权公布号 | CN215111527U |
| 授权公告日 | 2021-12-10 |
| 分类号 | F16M11/04;F16M13/02 |
| 分类 | 工程元件或部件;为产生和保持机器或设备的有效运行的一般措施;一般绝热; |
| 申请人名称 | 辽宁育达科教装备有限公司 |
| 申请人地址 | 辽宁省辽阳市太子河区繁唐路一段8号 |
专利法律状态
2021-12-10
授权
状态信息
授权
摘要
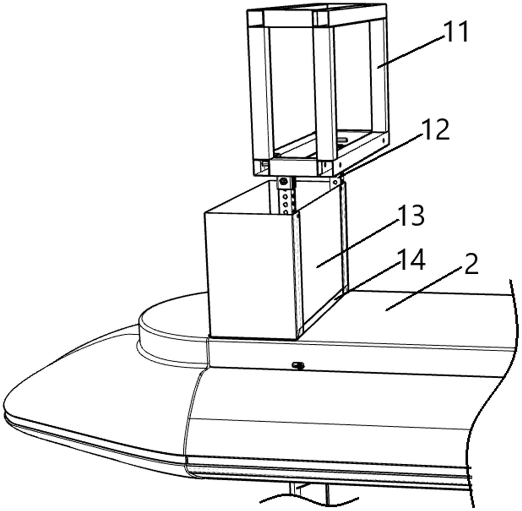
本实用新型提供了一种可调节高度的智能吊装固定座,包括吊装固定块、吊装调节杆、调节杆围挡和平台连接件;所述吊装调节杆外侧设有所述调节杆围挡;所述吊装调节杆包括限位孔、调节块和固定块连接件;所述吊装调节杆设有多个所述限位孔,所述限位孔其中的一个用以固定所述调节块;所述调节块通过调节块螺钉组件进行固定;所述吊装调节杆上端通过固定块连接件与所述吊装固定块下方连接,所述固定块连接件与所述吊装调节杆通过固定螺钉组件固定。本实用新型解决了电源线暗埋隐患问题以及实验台不方便移动的问题,满足了现代中小学素质教育的教学、分组讨论、实验的个性化功能,使吊装固定组件的高度可以自适应调节。


