授权公布号:CN210005021U
一种数字化实验室用便携光电门传感器
有效
申请
2019-06-25
申请公布
1970-01-01
授权
2020-01-31
预估到期
2029-06-25
| 申请号 | CN201920965891.2 |
| 申请日 | 2019-06-25 |
| 授权公布号 | CN210005021U |
| 授权公告日 | 2020-01-31 |
| 分类号 | G01D5/26;G01D11/00 |
| 分类 | 测量;测试; |
| 申请人名称 | 辽宁育达科教装备有限公司 |
| 申请人地址 | 辽宁省辽阳市太子河区繁唐路一段8号 |
专利法律状态
2020-01-31
授权
状态信息
授权
摘要
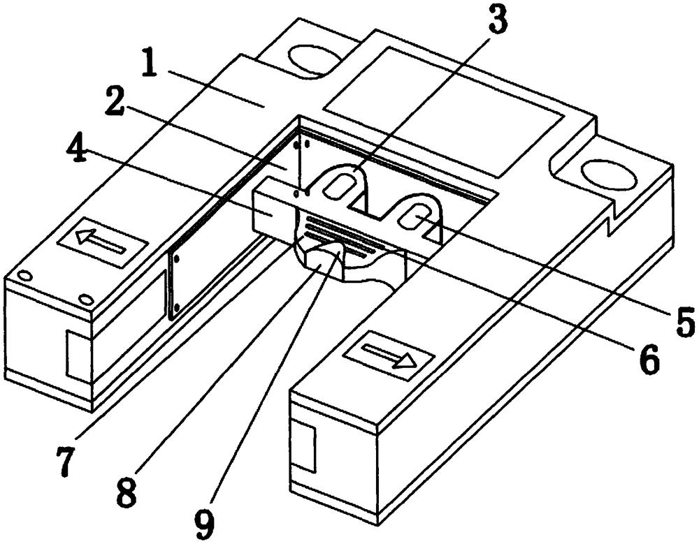
本实用新型公开一种数字化实验室用便携光电门传感器,包括传感器本体,所述传感器本体的内侧壁固接有内框板,所述内框板的内侧固接有横梁架,所述横梁架的前侧一体成型有手柄,所述手柄的顶部前侧一体成型有凸起,所述横梁架的后端两侧均一体成型有翼耳,所述翼耳的内侧开设有安装孔。该数字化实验室用便携光电门传感器,操作者可两指手持手柄部拿起互相固接的横梁架和传感器本体,拿起后可将传感器本体的外框边缘放置于与其适配的放置槽中,更加便于拿取传感器,且便于将传感器直接全部的安放在放置槽中,凸起防止两指拿取时在手柄上滑落,增加拿取时的稳定性。


