授权公布号:CN219668251U
一种钢卷移送装置
有效
申请
2023-03-14
申请公布
1970-01-01
授权
2023-09-12
预估到期
2033-03-14
| 申请号 | CN202320481066.1 |
| 申请日 | 2023-03-14 |
| 授权公布号 | CN219668251U |
| 授权公告日 | 2023-09-12 |
| 分类号 | B62B3/02 |
| 分类 | 无轨陆用车辆; |
| 申请人名称 | 佛山市南海宏钢金属制品有限公司 |
| 申请人地址 | 广东省佛山市南海区里水镇桂和路和桂工业园B区 |
专利法律状态
2023-09-12
授权
状态信息
授权
摘要
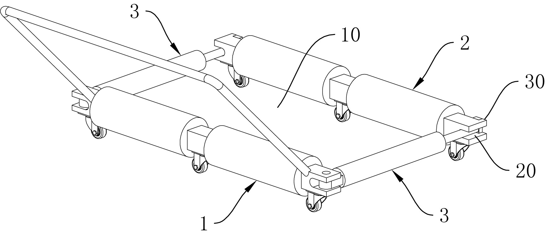
本实用新型涉及一种钢卷移送装置,其特点在于包括前行走托架、后行走托架、两个伸缩机构,其中前行走托架、后行走托架呈前后并排布置,在前行走托架与后行走托架之间预留有承托间隙,两个伸缩机构分别设置在前行走托架的左右端上,并使两个伸缩机构的伸缩端分别与后行走托架的左右端相接,所述后行走托架能在两个伸缩机构的驱动下做靠近前行走托架的运动。本实用新型具有使用方便、易于上下钢卷、移送效率高、对人需求量少、使用成本低、安全性极高等优点。


