授权公布号:CN102189238B
一种拔管钳
有效
申请
2010-12-15
申请公布
2011-09-21
授权
2013-12-11
预估到期
2030-12-15
| 申请号 | CN201010587567.5 |
| 申请日 | 2010-12-15 |
| 申请公布号 | CN102189238A |
| 申请公布日 | 2011-09-21 |
| 授权公布号 | CN102189238B |
| 授权公告日 | 2013-12-11 |
| 分类号 | B22D13/10 |
| 分类 | 铸造;粉末冶金; |
| 申请人名称 | 高平市泫氏铸管有限公司 |
| 申请人地址 | 山西省高平市庞村铸造工业园区8号 |
专利法律状态
2013-12-11
授权
状态信息
授权
2011-11-23
实质审查的生效
状态信息
实质审查的生效IPC(主分类):B22D 13/10申请日:20101215
2011-09-21
公布
状态信息
公布
摘要
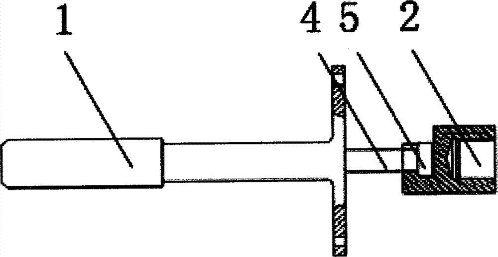
一种拔管钳,本发明涉及用于水冷金属型离心机拔管机构的拔管钳。由于传统的拔管钳装卸比较困难,装卸时间比较长,影响生产效率。发明为了解决上述存在的技术问题特提供一种便于装卸拔管钳,包括拔管钳头、连接体及油缸,其特征在于,拔管钳头与连接体卡接,连接体与油缸活动连接。通过本发明可以节省更换拔管钳时间,降低了劳动强度。


