授权公布号:CN209942030U
一种生物基多层板
有效
申请
2019-04-26
申请公布
1970-01-01
授权
2020-01-14
预估到期
2029-04-26
| 申请号 | CN201920588051.9 |
| 申请日 | 2019-04-26 |
| 授权公布号 | CN209942030U |
| 授权公告日 | 2020-01-14 |
| 分类号 | E04C2/284;E04B1/61 |
| 分类 | 建筑物; |
| 申请人名称 | 江苏辛巴地板有限公司 |
| 申请人地址 | 江苏省无锡市宜兴市和桥镇永兴村锡宜公路西侧 |
专利法律状态
2020-01-14
授权
状态信息
授权
摘要
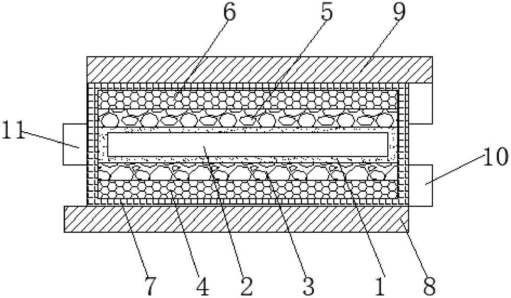
本实用新型公开了一种生物基多层板,属于多层板技术领域,包括生物基层,所述生物基层的内部设置有真空层,所述生物基层的底部设置有第一海绵层,所述第一海绵层远离生物基层的一端设置有第一保温层,所述生物基层的顶部设置有第二海绵层,所述第二海绵层远离生物基层的一端设置有第二保温层。本实用新型通过生物基层由可再生物质制作而成,改变传统用木材来做多层板的制作材料,使多层板更加环保,节约自然资源,将生物基层内部设置真空层,由于声音不能在真空环境中传播,使多层板具有良好的隔音效果,方便居民楼中的住户使用,提高了多层板的实用性,第一耐磨层与第二耐磨层,使多层板的耐磨性较好。


