授权公布号:CN219033890U
一种木地板压扣组件
有效
申请
2022-10-26
申请公布
1970-01-01
授权
2023-05-16
预估到期
2032-10-26
| 申请号 | CN202222830490.0 |
| 申请日 | 2022-10-26 |
| 授权公布号 | CN219033890U |
| 授权公告日 | 2023-05-16 |
| 分类号 | E04F15/02;E04F15/04;E04F15/08 |
| 分类 | 建筑物; |
| 申请人名称 | 江苏辛巴地板有限公司 |
| 申请人地址 | 江苏省无锡市宜兴市和桥镇永兴村锡宜公路西侧 |
专利法律状态
2023-05-16
授权
状态信息
授权
摘要
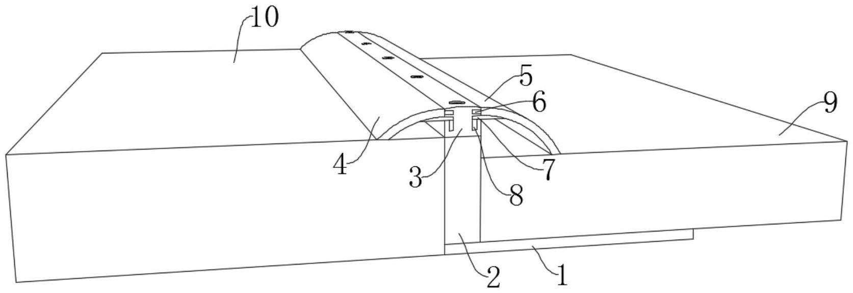
本实用新型属于木地板压扣领域,尤其是一种木地板压扣组件,针对现有的该组件在安装使用时,当压条两边的弧度较大时无法水平的安装在木地板与瓷砖之间的缝隙中,需要将压条整体进行更换的问题,现提出如下方案,其包括垫片,垫片的顶部边缘处固定安装有固定块,固定块的两侧分别抵触有地板与瓷砖,将垫片放入地板一端的底部,将固定块的一侧移动至与瓷砖抵触,再将第一压条和第二压条通过连接块,加固块与限位块插进连接槽加固槽与限位槽内,然后通过螺丝将扣块固定在固定块上即可,根据瓷砖与地板之间的高低差,达到可更换不同弧度的第一压板和第二压板与扣块进行插接,使组件与缝隙之间处于水平状态的效果。


