授权公布号:CN211559387U
一种组合式桌椅
有效
申请
2019-12-03
申请公布
1970-01-01
授权
2020-09-25
预估到期
2029-12-03
| 申请号 | CN201922137482.6 |
| 申请日 | 2019-12-03 |
| 授权公布号 | CN211559387U |
| 授权公告日 | 2020-09-25 |
| 分类号 | A47B83/02 |
| 分类 | 家具;家庭用的物品或设备;咖啡磨;香料磨;一般吸尘器; |
| 申请人名称 | 浙江山风教具股份有限公司 |
| 申请人地址 | 浙江省金华市永康市前仓镇前仓村八佰路1号 |
专利法律状态
2020-09-25
授权
状态信息
授权
摘要
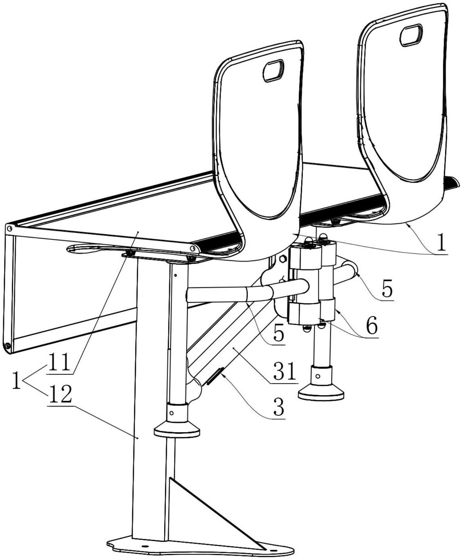
本实用新型公开了一种组合式桌椅,旨在克服现有技术中不方便清理、结构设计有待优化的问题,它包括桌子和椅子,桌子具有桌腿和设置在桌腿上的桌板,椅子具有凳腿和设置在凳腿上端的座板,桌腿和凳腿之间设置有平行四边形机构,平行四边形机构可将座板抬升至桌板上或将座板降低至桌板的外侧,平行四边形机构包括两两相铰接的第一连杆、第一接头、第二连杆和第二接头,第一接头设置在桌腿上,第二接头设置在凳腿上,还包括第一复位件,第一复位件迫使座板向桌板上抬升。


