授权公布号:CN208048326U
一种带支撑装置的桌面
有效
申请
2017-06-07
申请公布
1970-01-01
授权
2018-11-06
预估到期
2027-06-07
| 申请号 | CN201720663938.0 |
| 申请日 | 2017-06-07 |
| 授权公布号 | CN208048326U |
| 授权公告日 | 2018-11-06 |
| 分类号 | A47B13/08 |
| 分类 | 家具;家庭用的物品或设备;咖啡磨;香料磨;一般吸尘器; |
| 申请人名称 | 浙江山风教具股份有限公司 |
| 申请人地址 | 浙江省金华市永康市前仓镇前仓村八佰路1号 |
专利法律状态
2020-06-23
实用新型专利更正
状态信息
实用新型专利公报更正;卷:35;号:45-01;页码: ;申请号:2017207397105;IPC(主分类):B60R0019240000;更正项目:专利权人;地址;误:绿驰汽车科技集团有限公司;201708 上海市青浦区华隆路1777号e通商务园B座8楼;正:中能东道集团有限公司;100086 北京市海淀区知春路7号致真大厦D座2302室;卷:36;号:03-01;页码: ;申请号:2019206100340;IPC(主分类):A01G0031020000;更正项目:地址;误:402160 重庆市沙坪坝区永川区红河大道319号;正:402160 重庆市永川区红河大道319号;卷:36;号:17-01;页码: ;申请号:2019209695790;IPC(主分类):G01N0003240000;更正项目:专利权人;地址;专利权人;误:四川冶金建筑工程质量有限公司;610056 四川省成都市双林路五冶107栋;中冶成都勘察研究总院有限公司;正:四川冶金建筑工程质量检测有限公司;610056 四川省成都市双林路五冶107栋;中冶成都勘察研究总院有限公司;卷:36;号:22-02;页码: ;申请号:2017206639380;IPC(主分类):A47B0013080000;更正项目:专利权人;地址;误:浙江山风校具股份有限公司;321300 浙江省金华市永康市前仓镇前仓村八佰路1号;正:浙江山风教具股份有限公司;321300 浙江省金华市永康市前仓镇前仓村八佰路1号
2020-05-29
专利权人的姓名或者名称、地址的变更
状态信息
专利权人的姓名或者名称、地址的变更;IPC(主分类):A47B 13/08;专利号:ZL2017206639380;变更事项:专利权人;变更前:永康市山风校具有限公司;变更后:浙江山风校具股份有限公司;变更事项:地址;变更前:321304 浙江省金华市永康市前仓镇前仓村八佰路1号;变更后:321300 浙江省金华市永康市前仓镇前仓村八佰路1号
2018-11-06
实用新型专利权授予
状态信息
授权
摘要
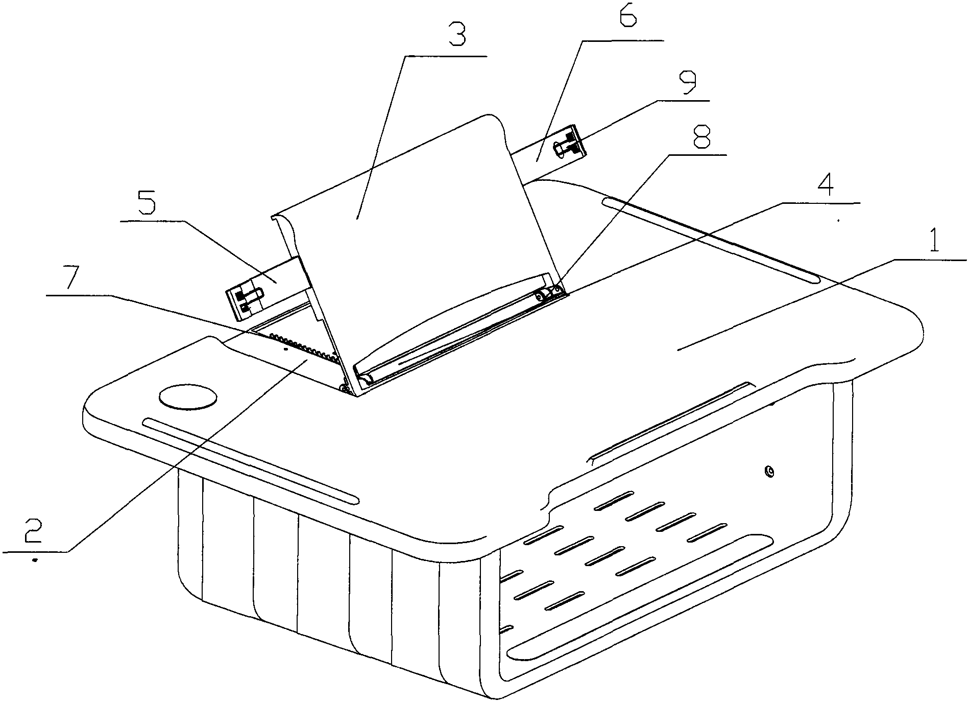
本实用新型公开了一种带支撑装置的桌面,包括桌面,桌面上设置有凹槽,凹槽内设置有支撑装置,支撑装置包括翻板,撑书板和支撑杆,翻板的一侧与所述桌面铰接连接,另一侧边缘呈内弯形状扣于桌面的边缘,翻板的背面设置有滑轨,滑轨上连接有第一拉伸齿条和第二拉伸齿条,撑书板通过弹簧锁紧装置连接于翻板的正面下侧,凹槽的两侧对称设置有若干个卡位,支撑杆的一端固定于卡位内,另一端与翻板的背面接触。在桌面上加设凹槽并安装支撑装置,结构简单紧致,占地面积少,同时也便于安装和拆卸。


