授权公布号:CN209629109U
一种易于拆装的抽屉
有效
申请
2018-05-31
申请公布
1970-01-01
授权
2019-11-15
预估到期
2028-05-31
| 申请号 | CN201820836715.4 |
| 申请日 | 2018-05-31 |
| 授权公布号 | CN209629109U |
| 授权公告日 | 2019-11-15 |
| 分类号 | A47B88/95;A47B88/483;A47B95/02;A47B88/944 |
| 分类 | 家具;家庭用的物品或设备;咖啡磨;香料磨;一般吸尘器; |
| 申请人名称 | 浙江山风教具股份有限公司 |
| 申请人地址 | 浙江省金华市永康市前仓镇前仓村八佰路1号 |
专利法律状态
2019-11-15
授权
状态信息
授权
摘要
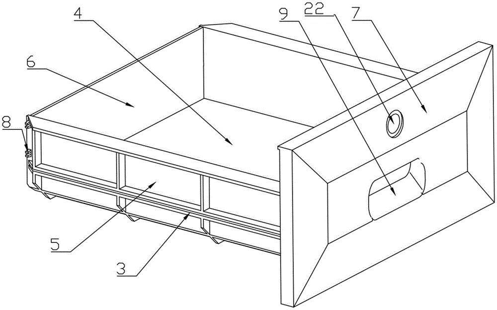
本实用新型涉及一种抽屉,特指一种易于拆装的抽屉,包括底板、侧板、连接板、前板以及抽屉导轨组,所述侧板安装于所述底板的左、右两侧,所述连接板安装于所述底板的后侧,所述连接板与所述侧板可拆卸连接,所述前板可拆卸连接在所述底板及侧板上,所述侧板上设置有所述抽屉导轨,抽屉通过所述抽屉导轨在屉槽内进行移动,通过可拆卸的设计,实现了易于抽屉各个部件的拆分和组合的优点。


