授权公布号:CN217222439U
铜粉分离回收系统
有效
申请
2022-02-28
申请公布
1970-01-01
授权
2022-08-19
预估到期
2032-02-28
| 申请号 | CN202220421624.0 |
| 申请日 | 2022-02-28 |
| 授权公布号 | CN217222439U |
| 授权公告日 | 2022-08-19 |
| 分类号 | B07B9/00;B07B1/28;B07B1/46 |
| 分类 | 将固体从固体中分离;分选; |
| 申请人名称 | 广东广铝铝型材有限公司 |
| 申请人地址 | 广东省广州市白云区江高镇青云路55号自编1-5栋 |
专利法律状态
2022-08-19
授权
状态信息
授权
摘要
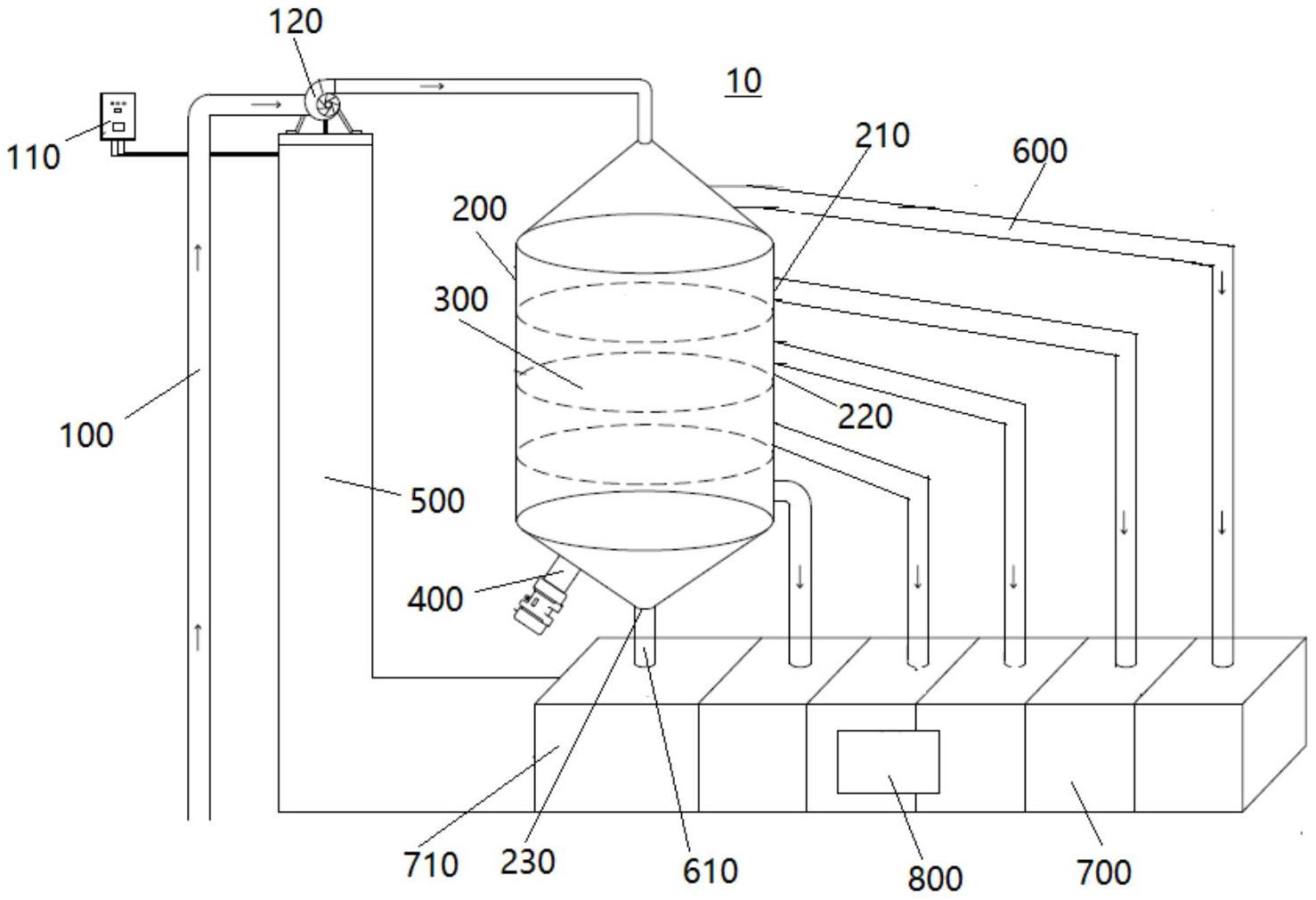
本实用新型的实施例提供了一种铜粉分离回收系统,涉及筛分领域。旨在对铜粉与挂具残留物进行分离回收。铜粉分离回收系统包括送料管、抽风机、振动箱以及多层分级筛;多层分级筛从上到下间隔设置在振动箱内;任意相邻的两层分级筛中,位于下方的分级筛的筛孔小于位于上方的分级筛的筛孔;送料管与振动箱连接,抽风机设置在送料管上,送料管用于将铜粉残留物输送到筛孔最大的分级筛上;多层分级筛用于在振动的过程中对铜粉残留物进行筛分。采用抽风机将铜粉残留物吸入振动箱,通过设置多层分级筛对铜粉残留物进行分级筛分回收,大块及中块颗粒物回收重熔,粉状物即磨损的铜灰回收再利用。能够快速的实现对铜粉与挂具残留物的分离回收。


