授权公布号:CN218347965U
流量调节阀
有效
申请
2022-10-28
申请公布
1970-01-01
授权
2023-01-20
预估到期
2032-10-28
| 申请号 | CN202222875550.0 |
| 申请日 | 2022-10-28 |
| 授权公布号 | CN218347965U |
| 授权公告日 | 2023-01-20 |
| 分类号 | F16K3/08;F16K3/30;F16K3/314;F16K27/04;F16K31/60 |
| 分类 | 工程元件或部件;为产生和保持机器或设备的有效运行的一般措施;一般绝热; |
| 申请人名称 | 福建欣宇卫浴科技股份有限公司 |
| 申请人地址 | 福建省漳州市龙海市漳州台商投资区福龙工业园兴景路 |
专利法律状态
2023-01-20
授权
状态信息
授权
摘要
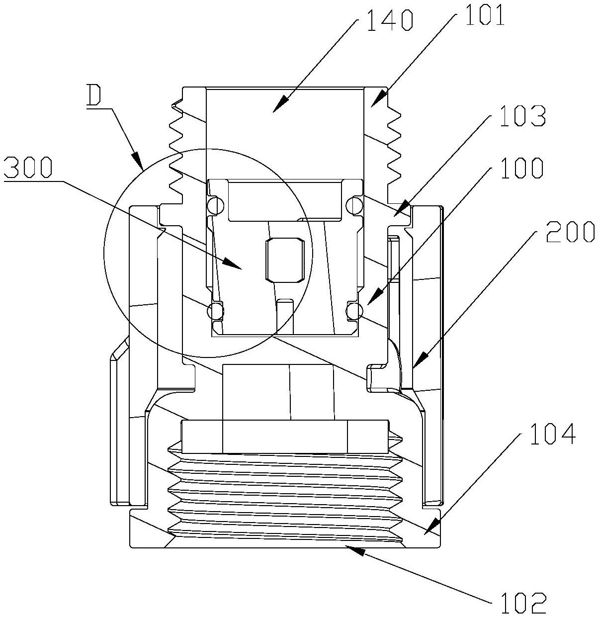
本实用新型提供了一种流量调节阀,涉及卫浴的技术领域,该流量调节阀包括调节阀主体和转盘,在所述阀座上设置有至少一个第一过水孔;所述转盘转动配置在所述贯穿孔内,且在所述转盘上设置有与第一过水孔匹配的第二过水孔;所述转盘在所述贯穿孔内旋转,以调节所述第一过水孔和所述第二过水孔的重合区域。本实用新型提供的流量调节阀的出水端用于与花洒连接,进水端用于与喷头软管连接,当需要调节花洒的流量的时候,用户可以直接通过使转盘旋转,调节第一过水孔和第二过水孔的重合区域的大小,进而改变花洒的流量;且由于该流量调节阀直接与花洒连接,有利于用户直接找到流量调节阀,减少不必要的摸索。


