授权公布号:CN219066568U
电抗器和电容补偿柜
有效
申请
2023-01-03
申请公布
1970-01-01
授权
2023-05-23
预估到期
2033-01-03
| 申请号 | CN202320007251.7 |
| 申请日 | 2023-01-03 |
| 授权公布号 | CN219066568U |
| 授权公告日 | 2023-05-23 |
| 分类号 | H01F27/08;H01F27/40;H01F27/28 |
| 分类 | 基本电气元件; |
| 申请人名称 | 施耐德电气(中国)有限公司 |
| 申请人地址 | 北京市朝阳区望京东路6号A座 |
专利法律状态
2023-05-23
授权
状态信息
授权
摘要
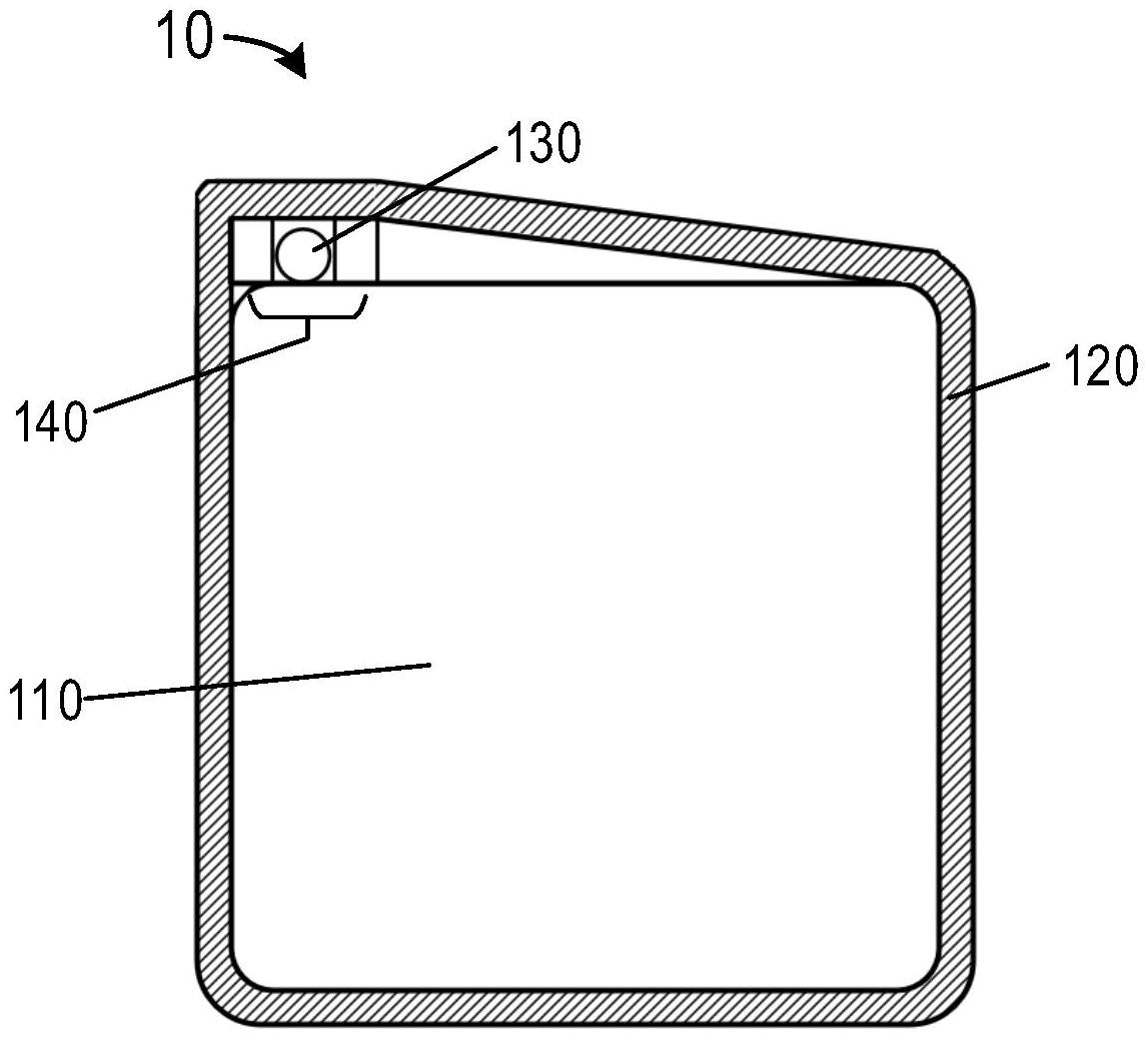
本公开涉及一种电抗器和电容补偿柜。根据本公开实施例,提供了一种电抗器。该电抗器可以包括电抗器骨架和绕制在电抗器骨架上的线圈。该电抗器还可以包括温度感测部件,温度感测部件被布置在电抗器骨架与线圈之间,用于获取电抗器的温度信息。根据本公开实施例的电抗器,能够实现电抗器内部温度的精确测量,从而实现电抗器工作状态以及使用寿命的精确监控,从而提高了电力系统的安全性。


