授权公布号:CN209489453U
一种鲜花椒破壳装置
有效
申请
2019-08-30
申请公布
1970-01-01
授权
2019-10-15
预估到期
2029-08-30
| 申请号 | CN201821446758.8 |
| 申请日 | 2019-08-30 |
| 授权公布号 | CN209489453U |
| 授权公告日 | 2019-10-15 |
| 分类号 | A23N5/00 |
| 分类 | 其他类不包含的食品或食料;及其处理; |
| 申请人名称 | 重庆市树上鲜食品(集团)有限公司 |
| 申请人地址 | 重庆市万州区李河镇兴盛路47号 |
专利法律状态
2019-10-15
授权
状态信息
授权
摘要
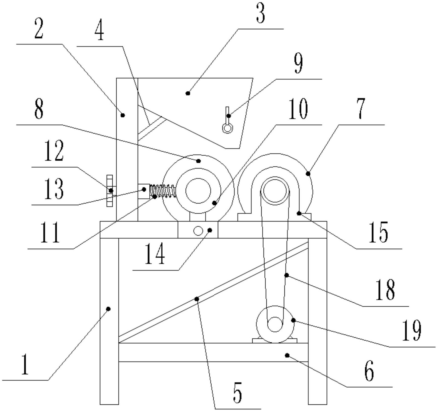
本实用新型公开了一种鲜花椒破壳装置,包括支撑架,所述支撑架固定有第一轴承座,在第一轴承座之间连接有第一挤压辊轮,在支撑架前后侧固定有安装框,在每一安装框中固定连接有转动销,所述转动销上转动连接有第二轴承座,在两第二轴承座之间转动连接有第二挤压辊轮,在第二轴承座的左侧还固定有连接杆,连接杆上固定有压缩弹簧,支撑架的左侧还固定有一立架,在立架上固定有一料斗,料斗的出料口处于第一挤压辊轮和第二挤压辊轮之间,所述第一挤压辊轮其中一侧的转动轴上还固定有皮带轮,所述支撑架上固定有驱动电机,驱动电机和第一挤压辊轮上的皮带轮通过皮带连接。该鲜花椒破壳装置结构简单,能够快速的对鲜花椒进行破壳,破壳效率高。


