授权公布号:CN209106860U
一种泡茶用便携式茶杯
有效
申请
2018-11-06
申请公布
1970-01-01
授权
2019-07-16
预估到期
2028-11-06
| 申请号 | CN201821826665.8 |
| 申请日 | 2018-11-06 |
| 授权公布号 | CN209106860U |
| 授权公告日 | 2019-07-16 |
| 分类号 | A47G19/22;A45F3/16 |
| 分类 | 家具;家庭用的物品或设备;咖啡磨;香料磨;一般吸尘器; |
| 申请人名称 | 天方茶业股份有限公司 |
| 申请人地址 | 安徽省池州市石台县矶滩乡天方产业园 |
专利法律状态
2019-07-16
授权
状态信息
授权
摘要
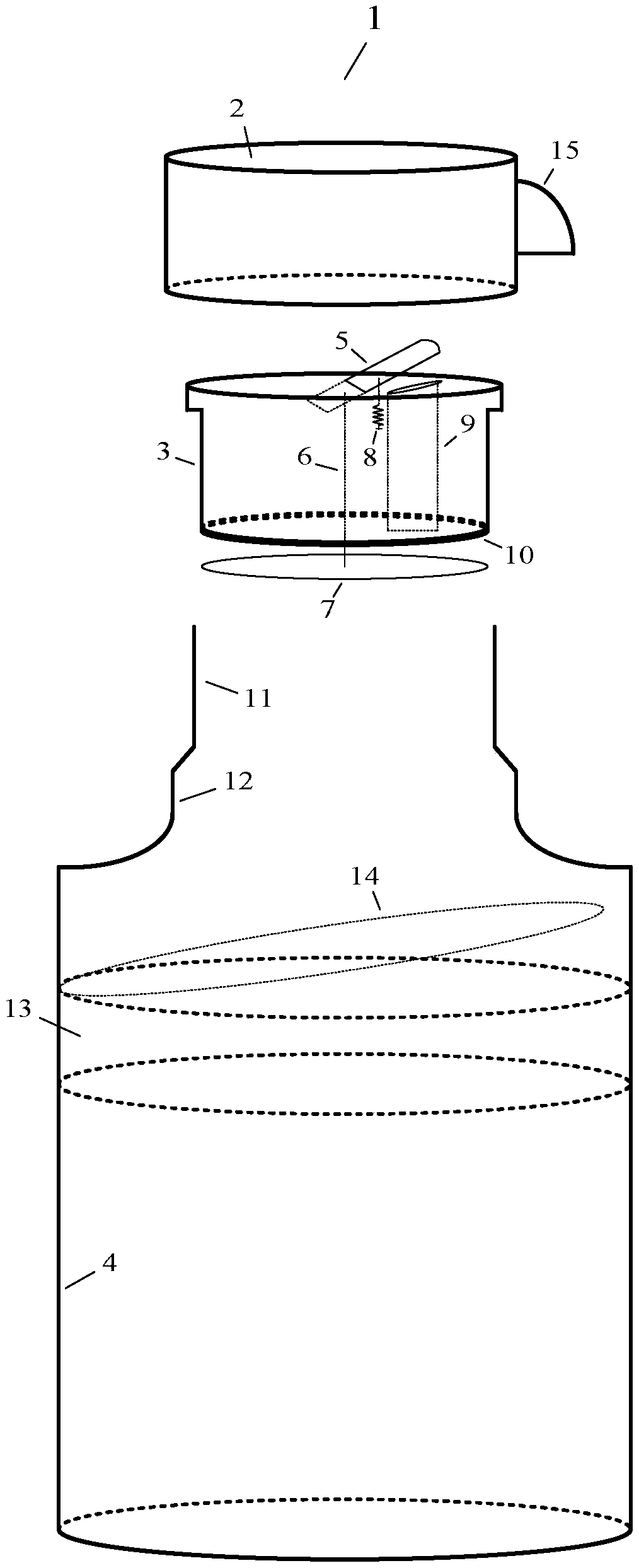
本实用新型公开了一种泡茶用便携式茶杯,包括便携式茶杯主体,所述便携式茶杯主体上设置有顶盖、杯盖、杯体、阀门盖、连杆、阀门板、弹簧、出水口、橡胶垫、一级杯口、二级杯口、茶叶箱、箱盖和把手;所述杯盖底端的圆周边上固定安装有橡胶垫,所述杯盖内部右侧开设有出水口,所述杯盖内部中间设置有连杆,所述连杆底端与阀门板中心固定相连,所述连杆顶端与阀门盖左侧固定相连,所述弹簧下端固定在杯盖内侧壁上,所述杯盖外部可与一级杯口的内部螺旋相连;所述杯体内侧上部安装有茶叶箱。本实用新型在实际使用中,弹簧拉力恰当,阀门盖关闭紧密、无漏水,阀门盖打开所需力量也合适,出水时操作方便,便于携带且泡茶、喝茶方便。


