授权公布号:CN211204782U
一种茶叶加工用烘干装置
有效
申请
2019-12-04
申请公布
1970-01-01
授权
2020-08-07
预估到期
2029-12-04
| 申请号 | CN201922156089.1 |
| 申请日 | 2019-12-04 |
| 授权公布号 | CN211204782U |
| 授权公告日 | 2020-08-07 |
| 分类号 | F26B11/22;F26B21/00;F26B25/04;F26B25/18 |
| 分类 | 干燥; |
| 申请人名称 | 天方茶业股份有限公司 |
| 申请人地址 | 安徽省池州市石台县矶滩乡天方产业园 |
专利法律状态
2020-08-07
授权
状态信息
授权
摘要
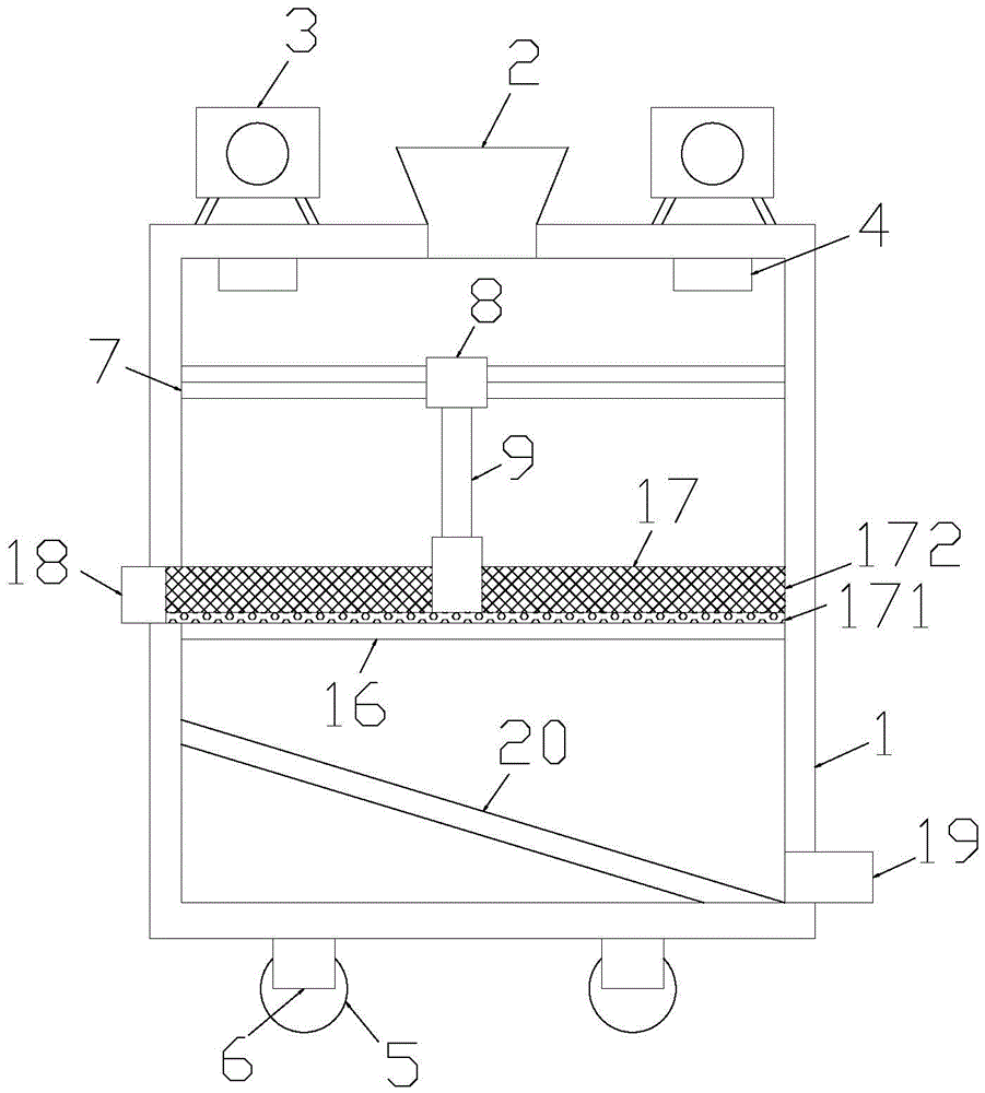
本实用新型公开了一种茶叶加工用烘干装置,包括烘干箱,烘干箱的顶部设有入料口,烘干箱的顶部于入料口的两侧均安装有热风机,热风机的底部连接有进风管,进风管远离热风机的一端插入烘干箱内;烘干箱内横向设有电动滑轨,电动滑轨上设有电动滑块,电动滑块的底部固接有连接杆,连接杆远离电动滑块的一端固接有安装板,安装板的两侧分别固接有第一竖杆和第二竖杆,安装板的底部滑动连接有多个划杆;第一竖杆远离第二竖杆的一侧安装有驱动电机,驱动电机的输出端穿过第一竖杆后固接有丝杆,丝杆远离驱动电机的一端穿过多个划杆后与第二竖杆连接;烘干箱内于电动滑轨的下方设有支撑格板,支撑格板上设有容纳腔;本实用新型使茶叶烘干的效果好。


