授权公布号:CN217591954U
一种可调节的茶叶连续萎凋装置
有效
申请
2022-07-01
申请公布
1970-01-01
授权
2022-10-18
预估到期
2032-07-01
| 申请号 | CN202221692650.3 |
| 申请日 | 2022-07-01 |
| 授权公布号 | CN217591954U |
| 授权公告日 | 2022-10-18 |
| 分类号 | A23F3/06 |
| 分类 | 其他类不包含的食品或食料;及其处理; |
| 申请人名称 | 六妙白茶股份有限公司 |
| 申请人地址 | 福建省宁德市福鼎市点头镇工业集中区B-6号 |
专利法律状态
2022-10-18
授权
状态信息
授权
摘要
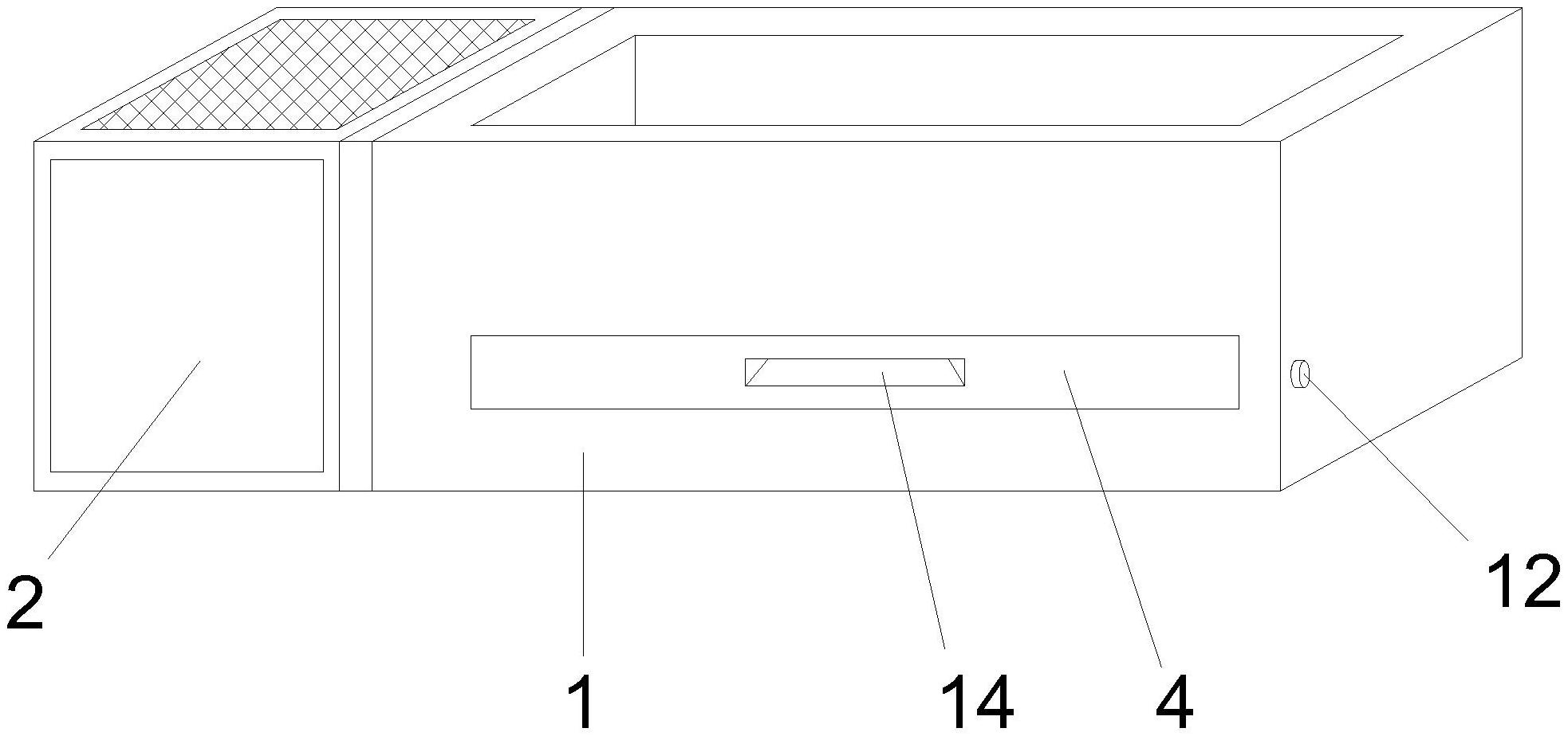
一种可调节的茶叶连续萎凋装置,其结构包括萎凋槽座,萎凋槽座左侧设有电热风机箱,将茶叶铺设于茶叶铺设板上,电热风机箱运转,将热流吹入出风窗口,经过伸缩调节管,最后由导风栅格吹入萎凋槽座内部,进行萎凋工作,在萎凋结束后,无需关闭电热风机箱,拔出固定插销后,工作人员通过拉动槽将封闭板拔出出料通道,封闭板带动茶叶铺设板伸出萎凋槽座外,工作人员直接将茶叶扫入载料工具内,然后在茶叶铺设板上铺设下一批的茶叶,铺设完毕后,将封闭板重新推入封闭,直接进行下一批的萎凋工作,伸缩调节管可进行伸缩调节,调节导风栅格输出方向,采用的连续萎凋结构,可减少预热所需的时间,同时提高萎凋工作的便利性。


