授权公布号:CN212852431U
一种育肥猪饲料生产线
失效
申请
2020-05-26
申请公布
1970-01-01
授权
2021-04-02
预估到期
2030-05-26
| 申请号 | CN202020898667.9 |
| 申请日 | 2020-05-26 |
| 授权公布号 | CN212852431U |
| 授权公告日 | 2021-04-02 |
| 分类号 | B07B1/04;A23N17/00;B65B37/00;B65G17/12 |
| 分类 | 其他类不包含的食品或食料;及其处理; |
| 申请人名称 | 昆明正阳饲料有限公司 |
| 申请人地址 | 云南省昆明市官渡区阿拉乡阿拉村 |
专利法律状态
2023-06-02
专利权的终止
状态信息
未缴年费专利权终止;IPC(主分类):A23N17/00;申请日:20200526;授权公告日:20210402
2021-04-02
授权
状态信息
授权
摘要
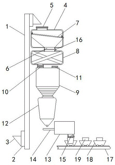
本实用新型涉及饲料生产技术领域,且公开了一种育肥猪饲料生产线,包括提升机,所述提升机的侧面滑动连接有滑架,所述滑架远离提升机的一侧固定连接有输料斗,所述提升机的右侧固定安装有储料箱。该育肥猪饲料生产线,通过设置提升机和输料斗之间的配合,便于把原料输送至储料箱内,再通过设置传送机构把造粒好的饲料输送至冷却装置冷却,然后通过设置轨道、打包车和打包箱之间的配合,把打包好的饲料运送至指定位置,有效的减轻了工人的体力消耗,极大的缩短了饲料输送时间,提高了饲料生产效率,达到了生产效率高的优点,从而有效的解决了饲料生产过程中消耗大量劳动力影响饲料生产效率的问题。


