授权公布号:CN212870563U
一种禽类饲料杀菌烘干装置
失效
申请
2020-05-26
申请公布
1970-01-01
授权
2021-04-02
预估到期
2030-05-26
| 申请号 | CN202020899936.3 |
| 申请日 | 2020-05-26 |
| 授权公布号 | CN212870563U |
| 授权公告日 | 2021-04-02 |
| 分类号 | A61L2/10;F26B11/16;F26B25/04;F26B25/18;F26B21/10 |
| 分类 | 干燥; |
| 申请人名称 | 昆明正阳饲料有限公司 |
| 申请人地址 | 云南省昆明市官渡区阿拉乡阿拉村 |
专利法律状态
2023-06-02
专利权的终止
状态信息
未缴年费专利权终止;IPC(主分类):F26B11/16;申请日:20200526;授权公告日:20210402
2021-04-02
授权
状态信息
授权
摘要
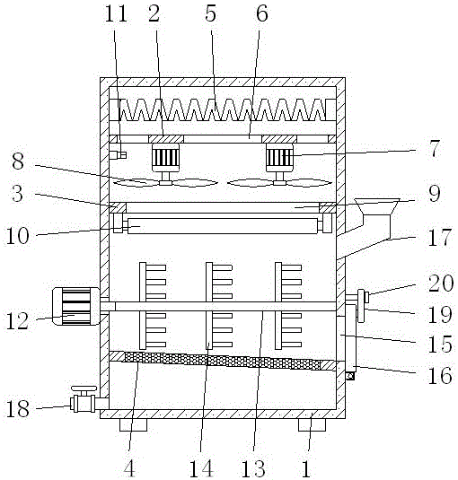
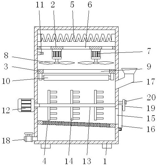
本实用新型公开了一种禽类饲料杀菌烘干装置,包括箱体,所述箱体的内腔从上往下依次固定连接有第一隔板、第二隔板和过滤板,所述箱体内腔两侧的顶部固定连接有加热丝,所述第一隔板的底部开设有第一方孔,所述第一隔板底部的两侧均固定连接有第一电机,所述第一电机的转轴固定连接有扇叶,所述第二隔板的底部开设有第二方孔。本实用新型具备杀菌效果好及烘干效率高的优点,解决了现有的禽类饲料杀菌烘干装置,在使用过程中,由于结构单一,无法对饲料进行有效的翻滚,导致饲料不能多方位的与紫外线杀菌灯及热风相接触,从而影响饲料的杀菌效果及烘干效率,降低了杀菌烘干装置适用性的问题。


