授权公布号:CN211575812U
一种用于复合肥料的滚筒干燥机
有效
申请
2019-12-17
申请公布
1970-01-01
授权
2020-09-25
预估到期
2029-12-17
| 申请号 | CN201922261709.8 |
| 申请日 | 2019-12-17 |
| 授权公布号 | CN211575812U |
| 授权公告日 | 2020-09-25 |
| 分类号 | F26B17/16 |
| 分类 | 干燥; |
| 申请人名称 | 四川好时吉化工有限公司 |
| 申请人地址 | 四川省德阳市什邡经济开发区(北区) |
专利法律状态
2020-09-25
授权
状态信息
授权
摘要
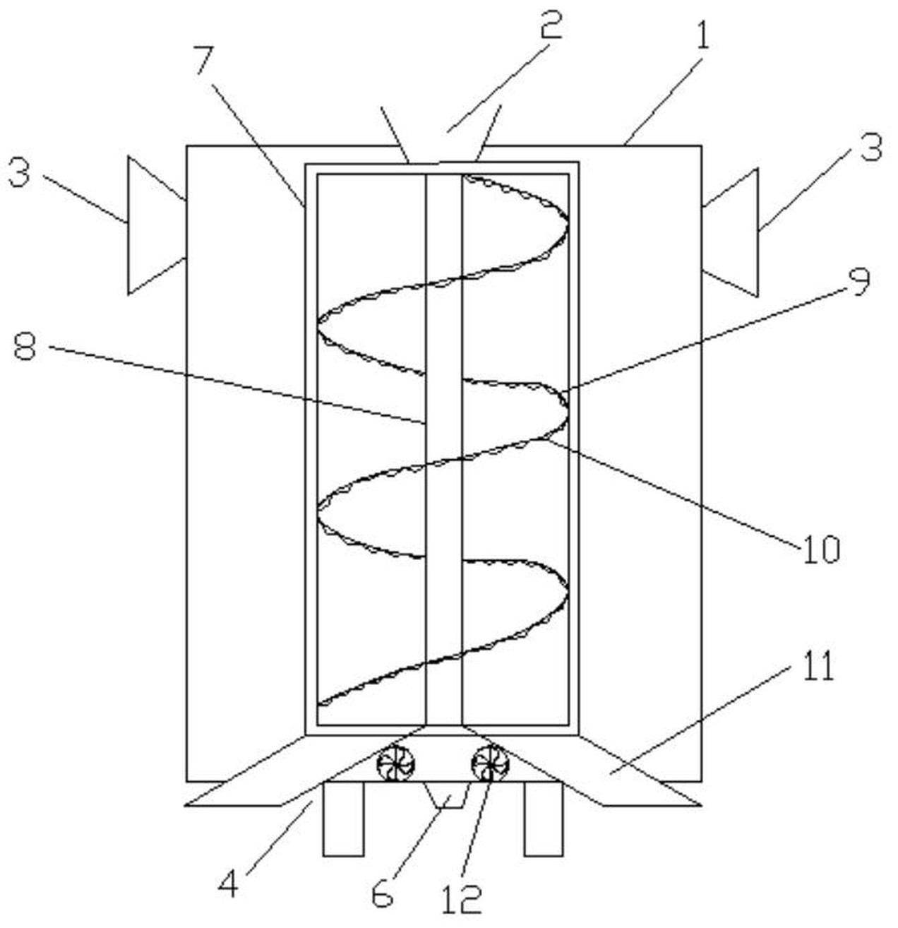
本实用新型涉及一种用于复合肥料的滚筒干燥机,包括机体,所述机体顶部设置有进料口,中部设置有出气口,底部设置有出料口和进气口;所述进料斗的出口位于干燥筒的上方,所述干燥筒设置在机体内,所述干燥筒内设置有中心柱,所述中心柱上设置有旋转梯,所述螺旋梯上设置有加热丝,所述加热丝外接电源;所述干燥筒的出口连接有散热板,所述散热板倾斜设置在机体内,所述散热板的高端与干燥筒的出料端连接,所述散热板的低端与出料口连接,所述机体内设置有与散热板配合散热的风扇,且所述风扇位于散热板下方,所述风扇的出风口正对散热板。本实用新型能够将复合肥料进行有效的干燥,并能及时降温,避免复合肥料粘结。


