授权公布号:CN212856597U
一种具有除尘功能的普洱茶加工筛分设备
有效
申请
2020-08-04
申请公布
1970-01-01
授权
2021-04-02
预估到期
2030-08-04
| 申请号 | CN202021595416.X |
| 申请日 | 2020-08-04 |
| 授权公布号 | CN212856597U |
| 授权公告日 | 2021-04-02 |
| 分类号 | B07B1/42;F26B23/04;B07B1/28;F26B9/06;F26B25/18;B08B3/04;A23F3/06;B07B1/46 |
| 分类 | 将固体从固体中分离;分选; |
| 申请人名称 | 勐海合和昌茶业有限公司 |
| 申请人地址 | 云南省西双版纳傣族自治州勐海县勐海工业园区 |
专利法律状态
2021-04-02
授权
状态信息
授权
摘要
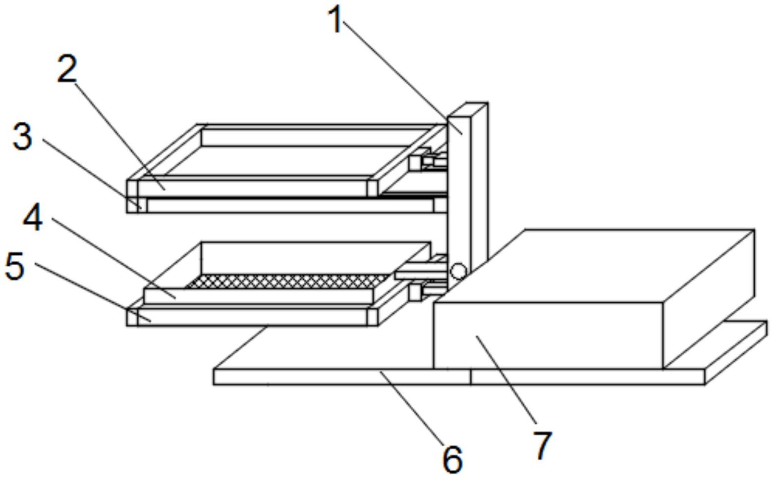
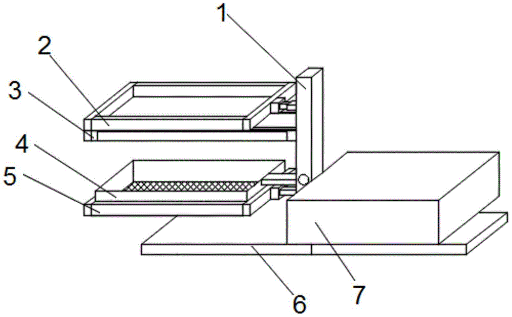
本实用新型公开了一种具有除尘功能的普洱茶加工筛分设备,包括支柱,所述支柱的一侧从上至下依次安装有筛选屉与承接屉和滤网屉、水洗屉,且筛选屉安装在承接屉的顶端,滤网屉安装在水洗屉的顶端,所述支柱的另一侧安装有烘干箱,所述支柱的底端安装有支撑底座,所述筛选屉的一端安装有伸缩杆,所述伸缩杆的远筛选屉的一端安装有液压缸,且液压缸安装在支柱的内部靠顶端,所述承接屉的前端安装有拉板,所述滤网屉的一端安装有固定板与连接杆,且固定板位于连接杆的顶端,且连接杆的一端贯穿支柱的一侧,所述连接杆的前端安装有旋转扣扭;本实用新型具能够提高筛分的效率,增加除尘的功能,使其能快速进入下一道工序,提高生产效率。


