授权公布号:CN212106329U
一种热风机消音房
有效
申请
2020-05-19
申请公布
1970-01-01
授权
2020-12-08
预估到期
2030-05-19
| 申请号 | CN202020838645.3 |
| 申请日 | 2020-05-19 |
| 授权公布号 | CN212106329U |
| 授权公告日 | 2020-12-08 |
| 分类号 | F04D25/08 |
| 分类 | 液体变容式机械;液体泵或弹性流体泵; |
| 申请人名称 | 陕西凌云电器集团有限公司 |
| 申请人地址 | 陕西省宝鸡市高新开发区裕泉路1号 |
专利法律状态
2020-12-08
授权
状态信息
授权
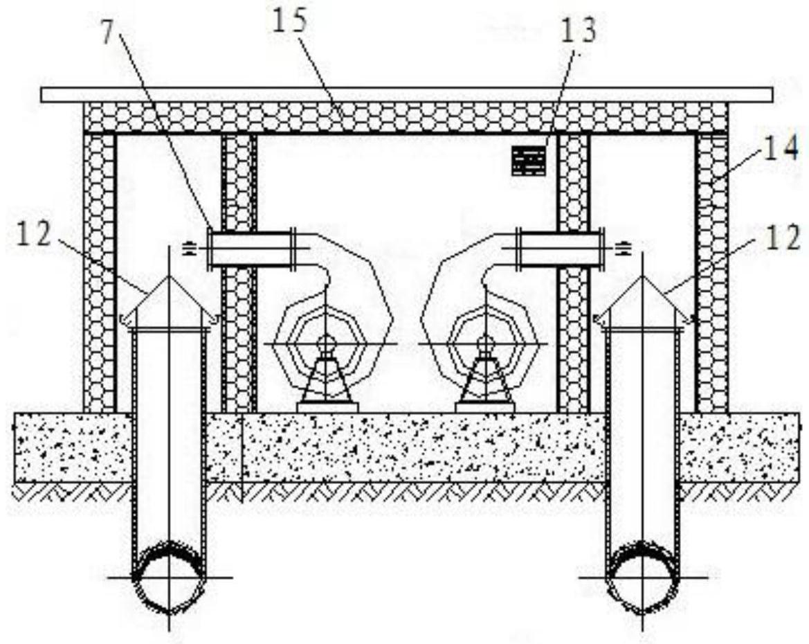
摘要
本实用新型公开了一种热风机消音房,包括消音风机室、消音热风室和U型消音器,消音风机室和消音热风室之间设置有隔墙,风机安装在消音风机室内,风机的抽风口通过风管设置于消音风机室外,风机的排风口安装有圆形消音器,圆形消音器的一端穿过隔墙置于消音热风室内;U型消音器的通风入口设置在消音热风室内,U型消音器的通风管道埋设在沙土中,U型消音器的通风出口设置消音房的外部。本实用新型风机的排风口安装圆形消音器,对风机产生的噪音进行第一次消音,将U型消音器的通风管道埋设在沙土中,既可以进一步消除噪音,又可通过土壤的自然减振作用实现对风机机械振动的衰减。


