授权公布号:CN115480376B
一种高清超广角关节镜成像系统
有效
申请
2022-09-22
申请公布
2022-12-16
授权
2023-09-29
预估到期
2042-09-22
| 申请号 | CN202211160199.5 |
| 申请日 | 2022-09-22 |
| 申请公布号 | CN115480376A |
| 申请公布日 | 2022-12-16 |
| 授权公布号 | CN115480376B |
| 授权公告日 | 2023-09-29 |
| 分类号 | G02B13/00;G02B13/06;G02B23/24;A61B1/317;A61B1/00 |
| 分类 | 光学; |
| 申请人名称 | 浙江天松医疗器械股份有限公司 |
| 申请人地址 | 浙江省杭州市桐庐县经济技术开发区尖端路168号 |
专利法律状态
2023-09-29
授权
状态信息
授权
2023-01-03
实质审查的生效
状态信息
实质审查的生效;IPC(主分类):G02B13/00;申请日:20220922
2022-12-16
公布
状态信息
公布
摘要
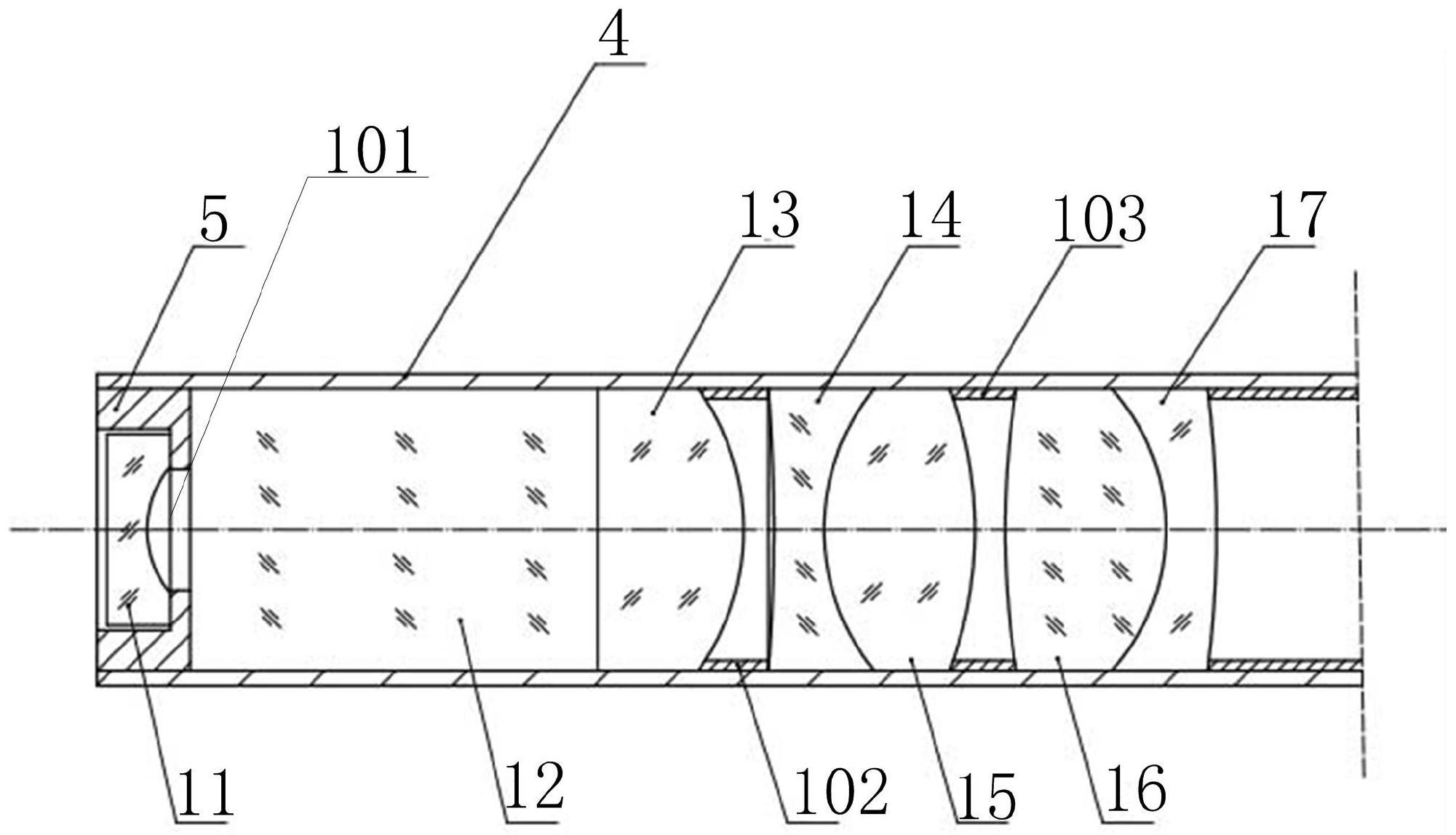
本发明公开了一种高清超广角关节镜成像系统,从物方到像方依次排布的物镜系统、转像系统和目镜系统,物镜系统包括:光路从物方到像方依次经过的物镜一、平镜、物镜二、物镜三、物镜四、物镜五和物镜六;转像系统包括:从物方到像方依次排布的三个结构相同的转像单元,且每个转像单元包括:光路从物方到像方依次经过的平凸棒镜一、转像镜二、转像镜三和平凸棒镜二;目镜系统包括:光路从物方到像方依次经过的目镜一、目镜二和目镜三。本发明公开了一种高清超广角关节镜成像系统,分辨率较高,视场角大、畸变小。


