授权公布号:CN208404832U
等离子双极电切镜
失效
申请
2017-07-06
申请公布
1970-01-01
授权
2019-01-22
预估到期
2027-07-06
| 申请号 | CN201720812152.0 |
| 申请日 | 2017-07-06 |
| 授权公布号 | CN208404832U |
| 授权公告日 | 2019-01-22 |
| 分类号 | A61B18/14;A61B18/12 |
| 分类 | 医学或兽医学;卫生学; |
| 申请人名称 | 浙江天松医疗器械股份有限公司 |
| 申请人地址 | 浙江省杭州市桐庐县经济技术开发区尖端路168号 |
专利法律状态
2023-07-14
专利权的终止
状态信息
未缴年费专利权终止;IPC(主分类):A61B 18/14;专利号:ZL2017208121520;申请日:20170706;授权公告日:20190122;终止日期:
2023-07-14
专利权的终止
状态信息
未缴年费专利权终止;IPC(主分类):A61B18/14;申请日:20170706;授权公告日:20190122
2019-01-22
授权
状态信息
授权
摘要
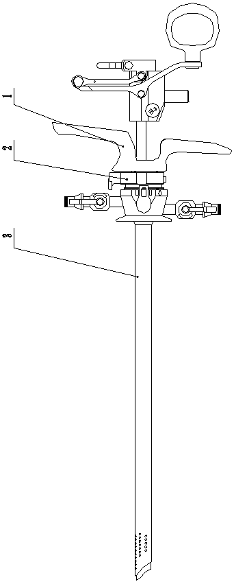
本申请涉及一种等离子双极电切镜,包括工作把手、内鞘组件、外鞘组件,工作把手与内鞘组件连接,内鞘组件与外鞘组件连接,还设置有单极电切环,单极电切环与工作把手配合连接,所述单极电切环与主机电源正极连接,主机电源正极、单极电切环、生理盐水、外鞘组件、内鞘组件、工作把手上的电极插头、主机电源负极构成工作电流回路。所述单极电切环仅由切割环和电切环外围结构组成,电切环外围结构包括陶瓷头、外管、保护管、定位套、绝缘管和卡头,陶瓷头、外管、保护管、定位套、绝缘管、卡头固定成一体,卡头与工作把手配合连接,切割环与卡头导通。本申请结构简洁、低成本、高可靠性、高安全性,增大出水量,安装拆卸简便,滑块组件密封性好。


