授权公布号:CN204798365U
一种方便实用的艾灸头
有效
申请
2015-06-18
申请公布
1970-01-01
授权
2015-11-25
预估到期
2025-06-18
| 申请号 | CN201520443384.4 |
| 申请日 | 2015-06-18 |
| 授权公布号 | CN204798365U |
| 授权公告日 | 2015-11-25 |
| 分类号 | A61H39/06 |
| 分类 | 医学或兽医学;卫生学; |
| 申请人名称 | 齐齐哈尔市祥和中医器械有限责任公司 |
| 申请人地址 | 黑龙江省齐齐哈尔市铁锋区北大荒路7号 |
专利法律状态
2018-09-25
专利申请权、专利权的转移
状态信息
专利权的转移;IPC(主分类):A61H 39/06;专利号:ZL2015204433844;登记生效日:20180906;变更事项:专利权人;变更前权利人:崔磊;变更后权利人:齐齐哈尔市祥和中医器械有限责任公司;变更事项:地址;变更前权利人:161002 黑龙江省齐齐哈尔市铁锋区先锋街151号齐市祥和中医器械有限责任公司;变更后权利人:161000 黑龙江省齐齐哈尔市铁锋区北大荒路7号
2015-11-25
实用新型专利权授予
状态信息
授权
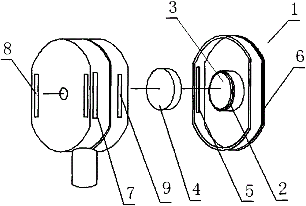
摘要
本实用新型公开了一种方便实用的艾灸头,该艾灸头的底部设有一个下端盖,下端盖盖面内壁中央设有一个环形的药壮腔,药壮腔的顶部设有活动或便于拆卸的封闭盖;下端盖与艾灸头底面之间通过卡簧或螺纹相互连接;下端盖的外侧盖面上附有一个医用双面胶贴。在该艾灸头的顶段开有横向贯通的灸头串联槽,顶面上两侧开有与灸头串联槽垂直相通的捆绑带固定槽。有益效果是:该艾灸头不仅药壮更换方便,也能够延长艾灸头的使用寿命。附在盖面上的固定用胶贴使用时方便快捷,将其胶贴在体表上凹凸区域的穴位上会更加牢固。该艾灸头顶部的多灸头串联槽和捆绑带固定槽的组合设置能够给使用操作带来极大的方便。


