授权公布号:CN215308249U
一种带开关扣合的水状喷头
有效
申请
2021-08-11
申请公布
1970-01-01
授权
2021-12-28
预估到期
2031-08-11
| 申请号 | CN202121864439.0 |
| 申请日 | 2021-08-11 |
| 授权公布号 | CN215308249U |
| 授权公告日 | 2021-12-28 |
| 分类号 | A61H35/04 |
| 分类 | 医学或兽医学;卫生学; |
| 申请人名称 | 浙江朗柯生物工程有限公司 |
| 申请人地址 | 浙江省杭州市余杭区瓶窑凤都工业区块羊城路13-1号 |
专利法律状态
2021-12-28
授权
状态信息
授权
摘要
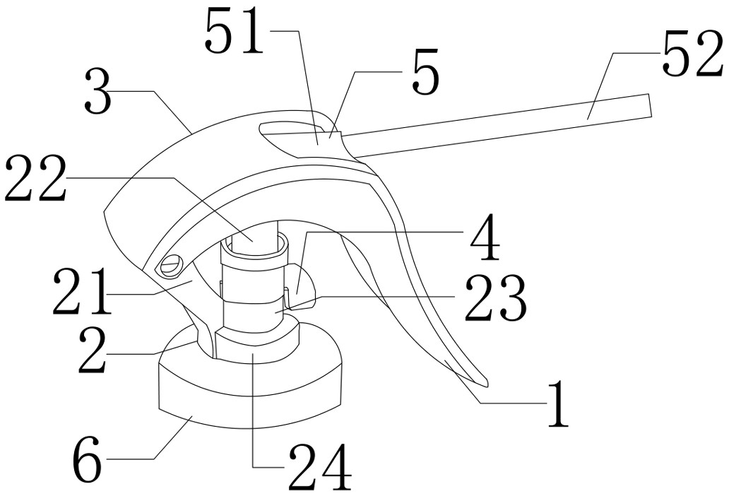
本实用新型涉及一种带开关扣合的水状喷头,包括把手触动器、连接座、主体、开关、喷头和瓶盖;所述把手触动器固定设置于主体一侧,与主体整体连接处存在有U型开口;所述连接座包括连接臂、连杆、上连接盖和下连接盖;所述主体设置有咬合口,所述主体与把手触动器连接处存在有U型开口;所述开关包括卡扣和拨片,所述卡扣插入上连接盖螺口内;所述喷头包括有喷头帽和吸管,所述喷头帽与连杆上端固定连接置于主体内侧;所述瓶盖包括防滑条和插入口。本实用新型开关的设置避免了因儿童的误碰而产生的意外,同时防滑条的设置可以更加有效固定铝杯边缘和喷头,降低意外掉落喷头的可能性,使用安全方便,不费力,设计新颖、结构简单合理。


