授权公布号:CN216219937U
一种防烫伤的蒸汽杀青机
有效
申请
2021-10-19
申请公布
1970-01-01
授权
2022-04-08
预估到期
2031-10-19
| 申请号 | CN202122514886.X |
| 申请日 | 2021-10-19 |
| 授权公布号 | CN216219937U |
| 授权公告日 | 2022-04-08 |
| 分类号 | A23F3/06 |
| 分类 | 其他类不包含的食品或食料;及其处理; |
| 申请人名称 | 湖南省九狮寨高山茶业有限责任公司 |
| 申请人地址 | 湖南省岳阳市平江县安定镇富家村 |
专利法律状态
2022-04-08
授权
状态信息
授权
摘要
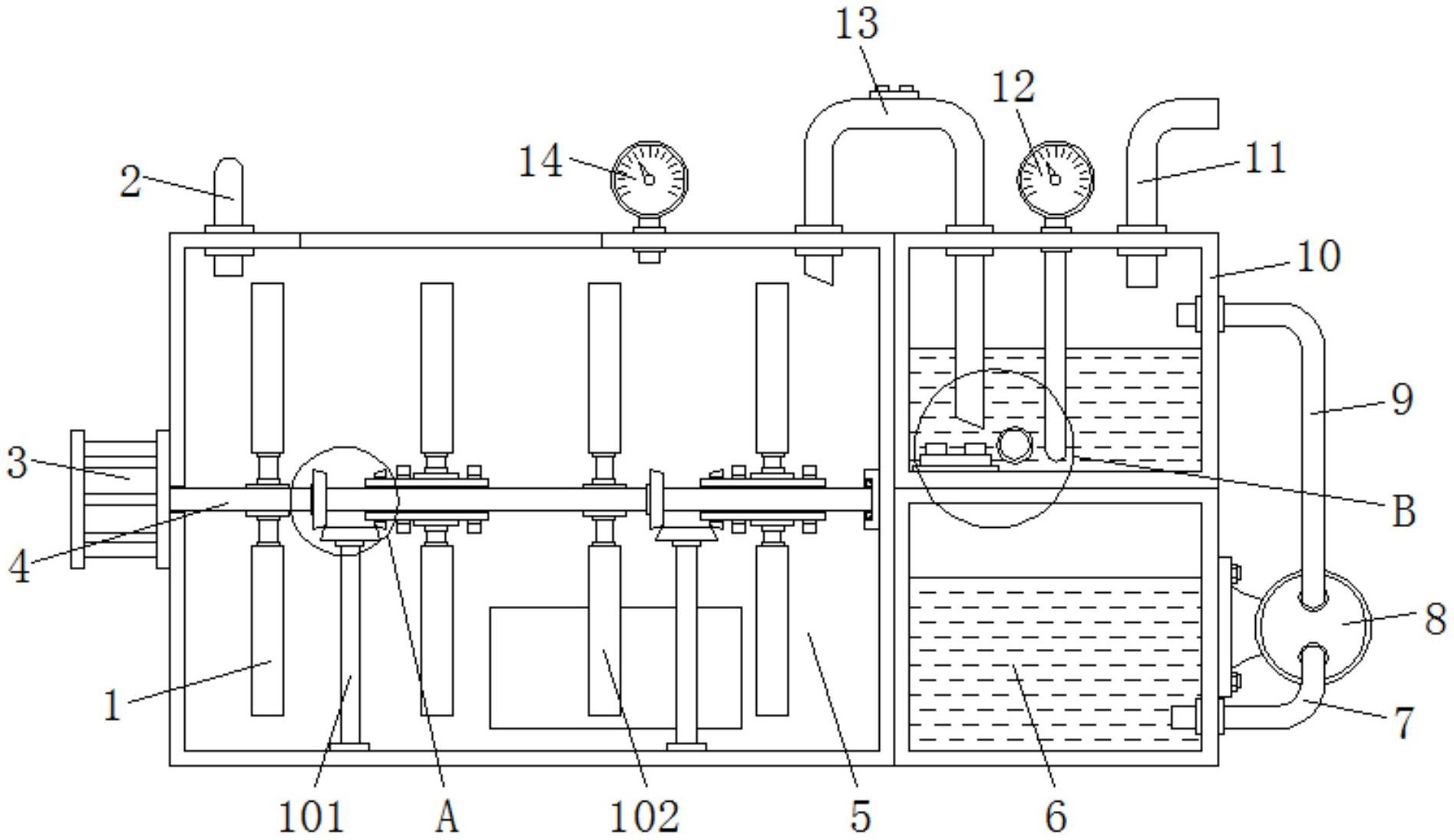
本实用新型公开了一种防烫伤的蒸汽杀青机,涉及茶叶杀青技术领域,包括杀青箱,所述杀青箱的一侧安装有驱动电机,且驱动电机的输出端安装有转杆,所述转杆的一端与杀青箱内部的一侧通过轴承相连接,所述杀青箱的内部设置有翻动器,所述杀青箱的顶端安装有压力计,所述杀青箱的一端安装有蒸汽发生箱,且蒸汽发生箱的内部安装有加热管,所述蒸汽发生箱的顶端安装有气泵,所述杀青箱的一侧安装有冷水箱,且冷水箱的一侧安装有水泵,所述冷水箱顶端的一端安装有冷却箱。本实用新型通过将高温蒸汽导入冷却箱内部的液体中进行冷却,从而保证高温蒸汽无法直接排出,对操作员的安全进行保障。


