授权公布号:CN210584888U
一种粒状热熔胶生产装置
有效
申请
2019-08-05
申请公布
1970-01-01
授权
2020-05-22
预估到期
2029-08-05
| 申请号 | CN201921250095.7 |
| 申请日 | 2019-08-05 |
| 授权公布号 | CN210584888U |
| 授权公告日 | 2020-05-22 |
| 分类号 | B01J19/00 |
| 分类 | 一般的物理或化学的方法或装置; |
| 申请人名称 | 新乡市华洋粘合剂有限公司 |
| 申请人地址 | 河南省新乡市新乡县小冀镇张徐线东段 |
专利法律状态
2020-05-22
授权
状态信息
授权
摘要
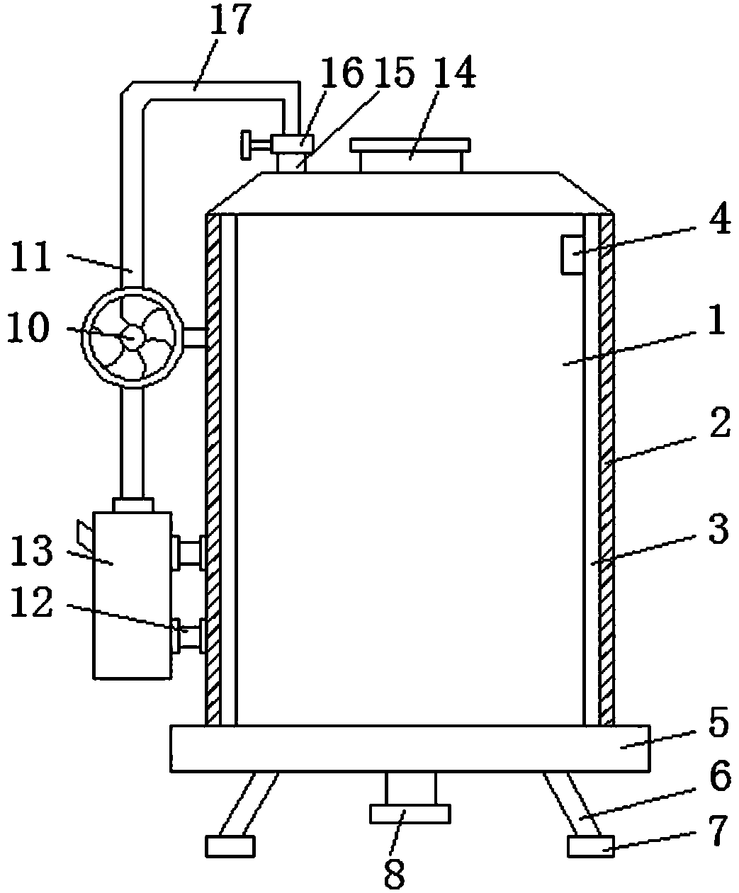
本实用新型公开了一种粒状热熔胶生产装置,包括支撑底板和T型螺栓,所述支撑底板的顶端安装有反应釜外壳,所述反应釜外壳的内壁安装有不锈钢耐腐蚀层,所述不锈钢耐腐蚀层上安装有温度传感器,所述反应釜外壳的底端中心处连接有出料管,所述排气口上螺纹连接有排气阀,所述排气阀上螺纹连接有输气管,所述输气管的一端螺纹连接有抽风机,所述净化罐体的顶端安装有橡胶密封接口,所述净化罐体侧面设置有出气口。本实用新型,抽风机将溶胶生产时产生的二氧化硫有毒气体输送到净化罐体内,与水形成亚硫酸根、硫酸根的形式,既能消除有毒气体,同时也可对形成的亚硫酸根、硫酸根再次利用,十分的实用。


