授权公布号:CN216970486U
一种镜片箱
有效
申请
2022-02-16
申请公布
1970-01-01
授权
2022-07-15
预估到期
2032-02-16
| 申请号 | CN202220315346.0 |
| 申请日 | 2022-02-16 |
| 授权公布号 | CN216970486U |
| 授权公告日 | 2022-07-15 |
| 分类号 | B65D25/10;B65D85/48 |
| 分类 | 输送;包装;贮存;搬运薄的或细丝状材料; |
| 申请人名称 | 北京大明眼镜股份有限公司 |
| 申请人地址 | 北京市东城区王府井大街301-3号 |
专利法律状态
2022-07-15
授权
状态信息
授权
摘要
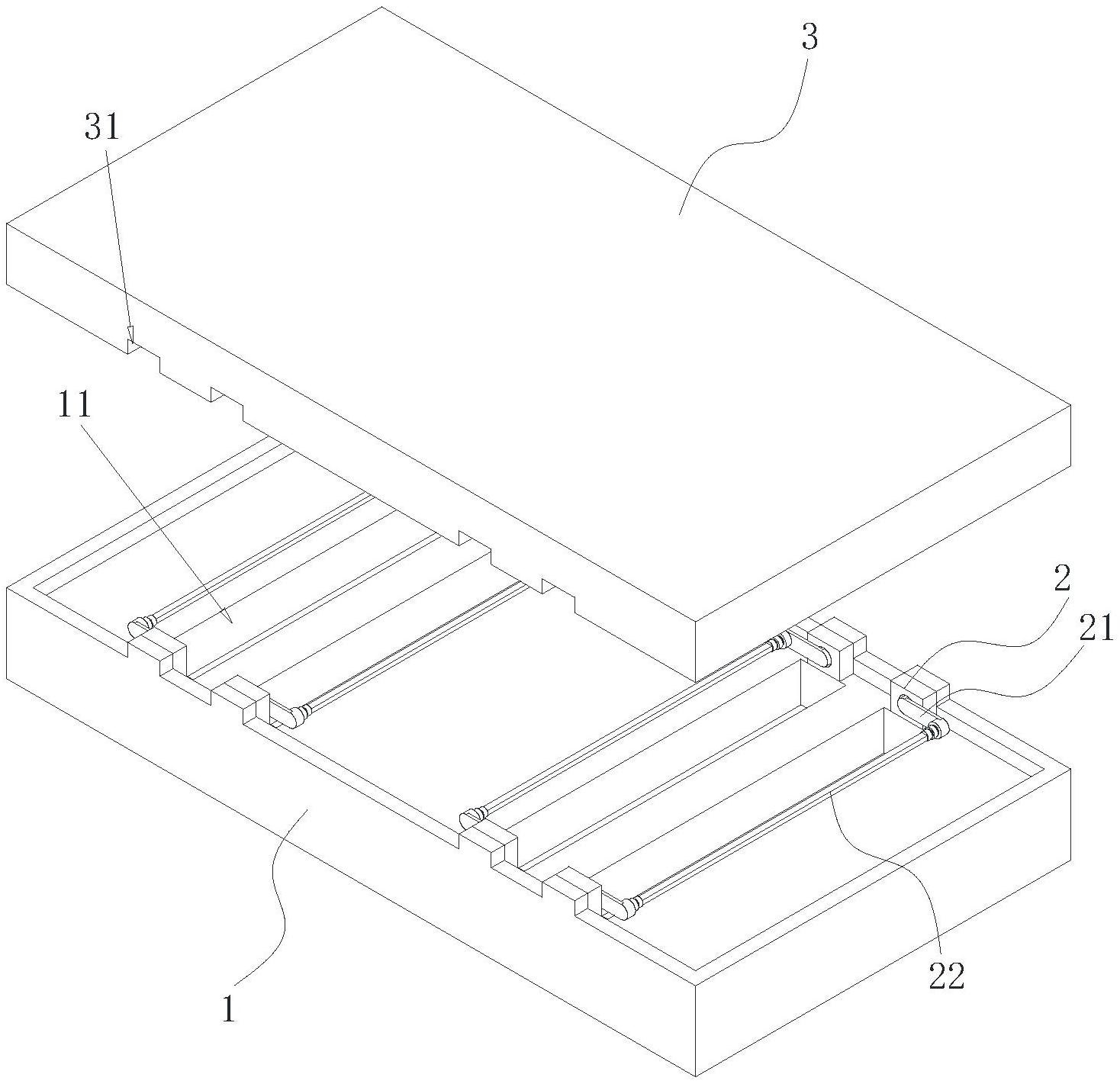
本申请提出了一种镜片箱,涉及验光设备领域。包括箱体,箱体内开设有若干用于盛放镜片的容纳槽,可容纳镜片度数正负差6度的球柱联合镜片,所述箱体内设置有安装座,所述安装座分设在容纳槽长度的两端,所述安装座上转动设置有安装杆,所述箱体内沿容纳槽的长度方向设置有驱动杆,所述驱动杆的两端与安装杆连接,本申请具有便于工作人员对镜片的位置进行收纳整理的效果。


