授权公布号:CN208874083U
一种具有防误碰功能的开关柜
有效
申请
2018-09-06
申请公布
1970-01-01
授权
2019-05-17
预估到期
2028-09-06
| 申请号 | CN201821454185.3 |
| 申请日 | 2018-09-06 |
| 授权公布号 | CN208874083U |
| 授权公告日 | 2019-05-17 |
| 分类号 | H02B1/30 |
| 分类 | 发电、变电或配电; |
| 申请人名称 | 天津市中天电气有限公司 |
| 申请人地址 | 天津市滨海新区自贸试验区(空港经济区)航空路136号 |
专利法律状态
2019-05-17
授权
状态信息
授权
摘要
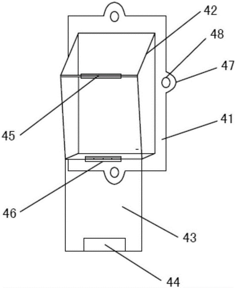
本实用新型公开了一种具有防误碰功能的开关柜,包括柜体(1)、控制面板(2)、按钮(3)和防护罩(4),所述按钮(3)位于控制面板(2)上且凸出于控制面板(2)平面外,所述防护罩(4)包含方形边框(41),所述边框(41)外沿上设置有耳板(47),所述耳板(47)上设置有螺孔(48),防护罩(4)与控制面板(2)通过螺丝贯穿螺孔(48)固定;边框(41)内沿上垂直连接有罩体(42),所述罩体(42)下沿通过合页(46)与罩门(43)活动连接,罩体(42)上沿端面固定有金属条(45),所述罩门(43)自由端对应设置有磁条(44)。该开关柜通过加装简单实用的防护罩,可以有效避免开关柜控制按钮的误碰。


