授权公布号:CN216789319U
一种三通阀及含有该三通阀的挂烫机
有效
申请
2022-01-14
申请公布
1970-01-01
授权
2022-06-21
预估到期
2032-01-14
| 申请号 | CN202220103044.7 |
| 申请日 | 2022-01-14 |
| 授权公布号 | CN216789319U |
| 授权公告日 | 2022-06-21 |
| 分类号 | F16K11/10;F16K27/02;D06F73/00 |
| 分类 | 工程元件或部件;为产生和保持机器或设备的有效运行的一般措施;一般绝热; |
| 申请人名称 | 宁波海歌电器有限公司 |
| 申请人地址 | 浙江省宁波市慈溪市崇寿镇工业区 |
专利法律状态
2022-06-21
授权
状态信息
授权
摘要
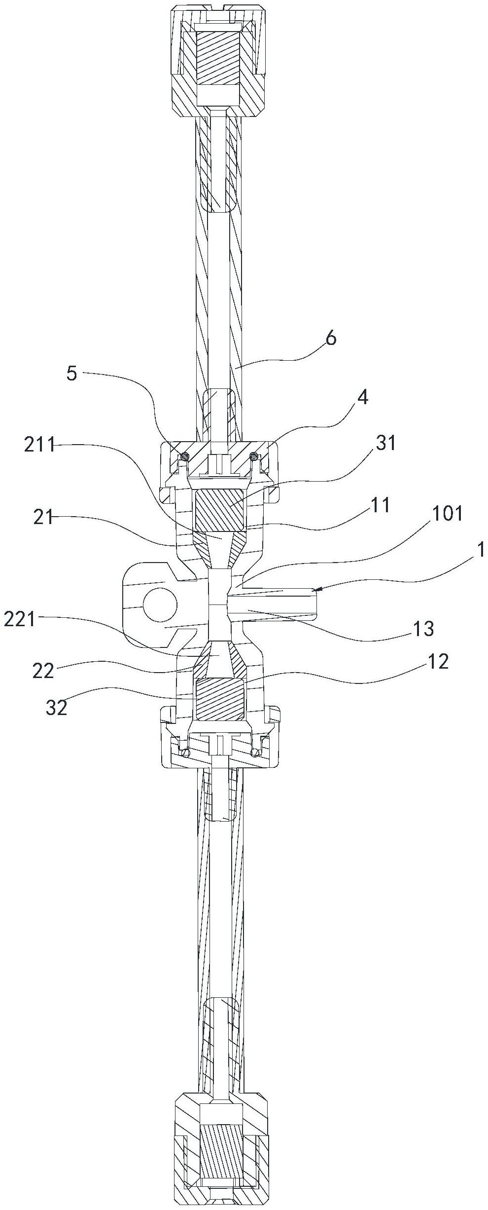
本实用新型公开了一种三通阀及含有该三通阀的挂烫机,其中,三通阀包括阀体,阀体内设置有相互连通的第一阀腔、第二阀腔和出水腔,第一阀腔和第二阀腔内分别设置有硅胶件和加重块;挂烫机包括壳体、设于壳体内的发热体、水箱和抽水泵,水箱相对的两端均设有水箱出水口,抽水泵的进水端通过三通阀与两个水箱出水口连通,抽水泵的出水端与发热体的进水端连通。本实用新型提供了一种三通阀及含有该三通阀的挂烫机,避免采用钢珠造成对阀体磨损,提高密封效果。


