授权公布号:CN209016223U
一种推杆结构及电池拆卸设备
有效
申请
2018-12-24
申请公布
1970-01-01
授权
2019-06-21
预估到期
2028-12-24
| 申请号 | CN201822194625.2 |
| 申请日 | 2018-12-24 |
| 授权公布号 | CN209016223U |
| 授权公告日 | 2019-06-21 |
| 分类号 | H01M10/54 |
| 分类 | 基本电气元件; |
| 申请人名称 | 骆驼集团股份有限公司 |
| 申请人地址 | 湖北省襄阳市谷城县石花镇武当路83号 |
专利法律状态
2019-06-21
授权
状态信息
授权
摘要
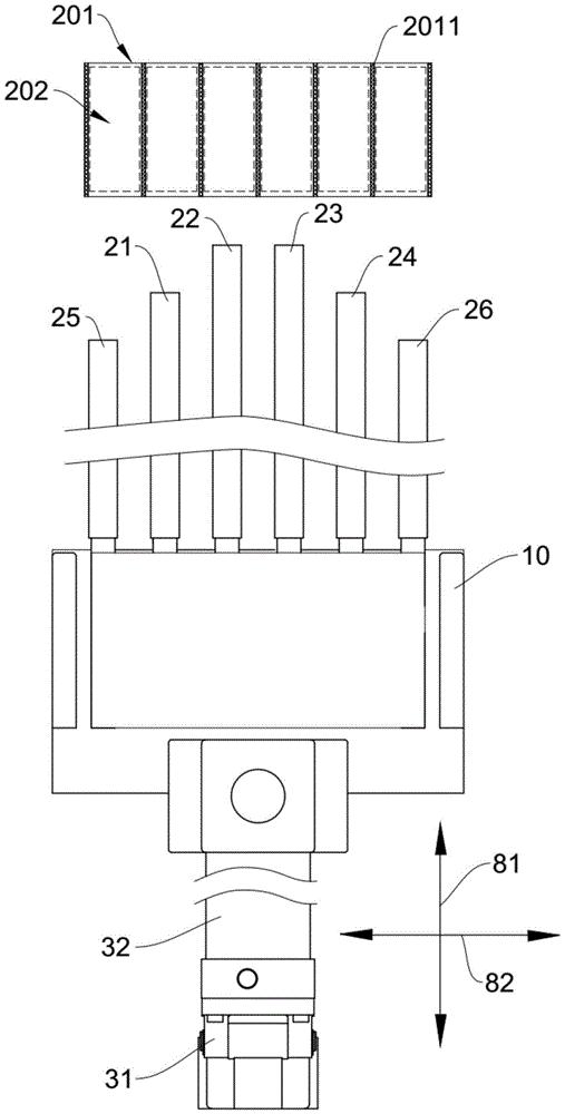
本实用新型公开了一种推杆结构及电池拆卸设备,涉及废旧物质回收处理技术领域。一种推杆结构包括推送组件,推送组件包括可拆卸连接的支撑件和推杆,推杆沿第一方向延伸,推杆的数量至少为两个,且包括第一推杆和第二推杆,第一推杆和第二推杆的长度不同。本推杆结构将电池集群组推出槽体时,由于推杆的长度不同,长度较长的推杆首先与与其中一组电池集群接触,将与其接触的电池集群松动并推动槽体,然后是长度较短的推杆将与其接触的电池集群松动并推动槽体。如此设置,能够使对电池集群与槽体之间分离分阶段进行,本推杆结构进行分离操作时所需的力要远远小于现有技术中的同时对所有电池集群组进行松动。


