授权公布号:CN211963867U
一种油漆用防沉淀搅拌釜
有效
申请
2019-12-31
申请公布
1970-01-01
授权
2020-11-20
预估到期
2029-12-31
| 申请号 | CN201922463751.8 |
| 申请日 | 2019-12-31 |
| 授权公布号 | CN211963867U |
| 授权公告日 | 2020-11-20 |
| 分类号 | B01F7/18 |
| 分类 | 一般的物理或化学的方法或装置; |
| 申请人名称 | 陕西立高涂料有限公司 |
| 申请人地址 | 陕西省咸阳市三原县重化工业园冶金大道5号副9号 |
专利法律状态
2020-11-20
授权
状态信息
授权
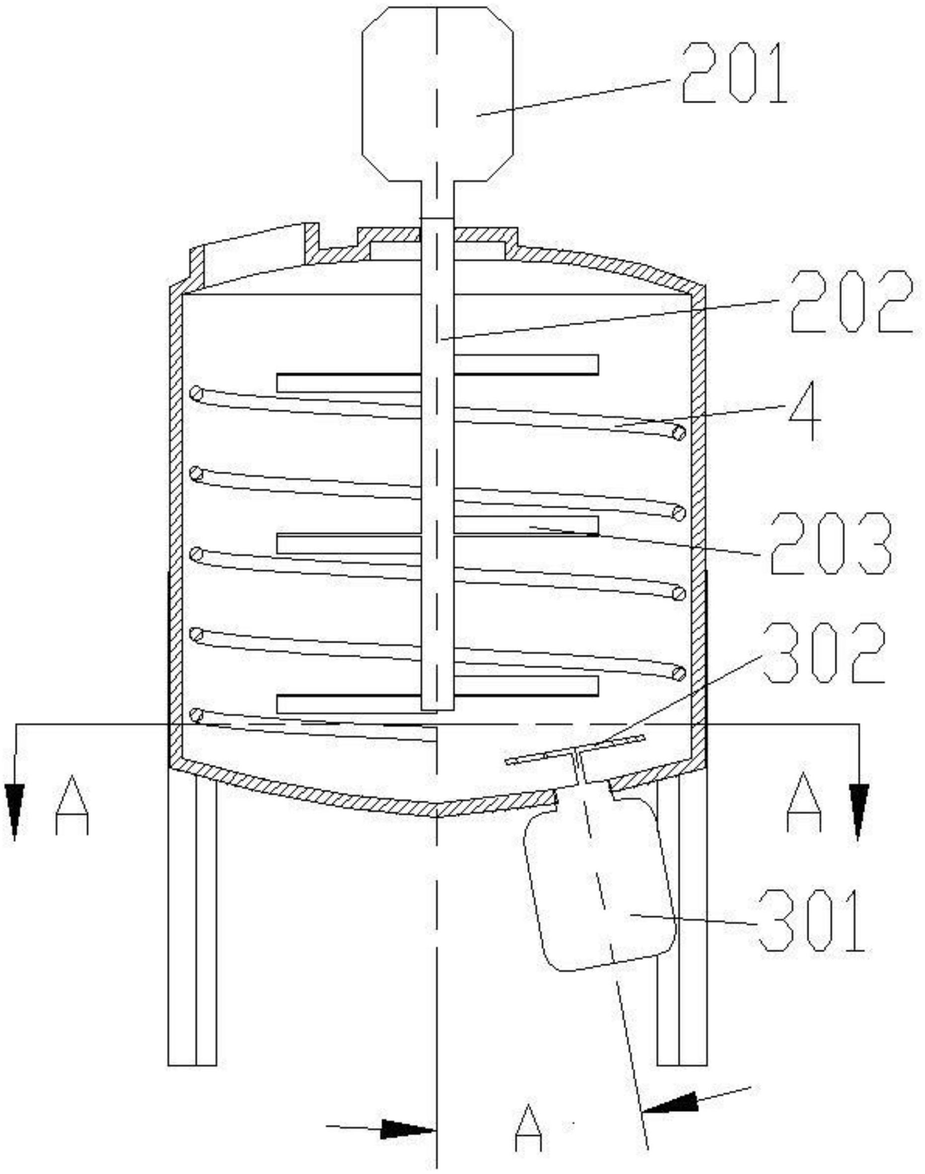
摘要
本实用新型公开了一种油漆用防沉淀搅拌釜,包括缸体,缸体的顶部中心设置有伸入缸体内部的搅拌组件,缸体的底部倾斜安装有伸入缸体内部的剪切组件。本实用新型技术油漆用防沉淀搅拌釜,通过在缸体顶部安装搅拌组件,在底部安装倾斜的剪切组件,使液态油漆物料形成紊流,提升了油漆物料的混合效果。


