授权公布号:CN211770193U
一种花篮桶开盖器
有效
申请
2019-12-03
申请公布
1970-01-01
授权
2020-10-27
预估到期
2029-12-03
| 申请号 | CN201922139340.3 |
| 申请日 | 2019-12-03 |
| 授权公布号 | CN211770193U |
| 授权公告日 | 2020-10-27 |
| 分类号 | B67B7/16 |
| 分类 | 开启或封闭瓶子、罐或类似的容器;液体的贮运; |
| 申请人名称 | 陕西立高涂料有限公司 |
| 申请人地址 | 陕西省咸阳市三原县重化工业园冶金大道5号副9号 |
专利法律状态
2020-10-27
授权
状态信息
授权
摘要
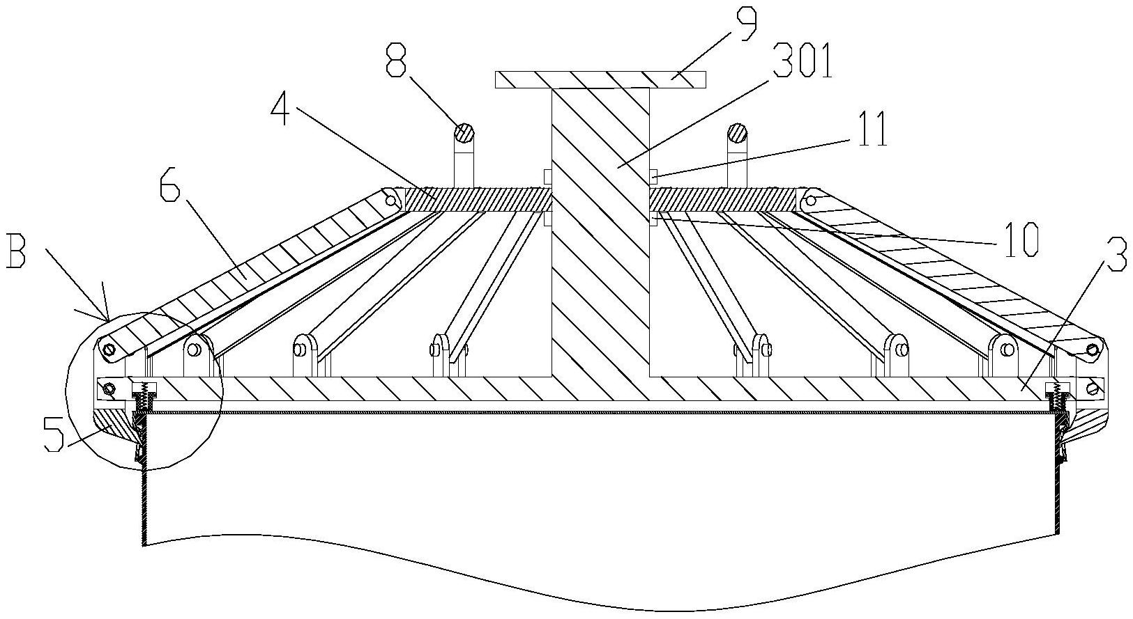
本实用新型公开了一种花篮桶开盖器,花篮桶包括花篮盖和桶体,花篮盖的边沿设置有多个垂直于盖底的变形片,每个变形片上设置有起盖孔;桶体的口沿平行设置有向外凸起的口沿凸筋和开盖凸筋;花篮桶开盖器包括:压盘、升降盘、撬杆和连杆;压盘的中心设置有向上的导向柱,所述导向柱上滑动套设升降盘;压盘的外侧壁径向均布数量与变形片数量相等的撬杆,每个撬杆的中部与压盘铰接;连杆的一端与撬杆的顶端铰接,另一端与升降盘铰接;压盘的下表面径向均布有多个弹簧销;撬杆的下端设置有用于起撬所述变形片的起撬钩。本实用新型花篮桶开盖器一次性打开所有变形片,提高了工作效率,花篮桶内的涂料可以完全倒出,桶体可以重复利用。


