授权公布号:CN213987697U
一种自动补货的夹盲盒机
有效
申请
2020-10-27
申请公布
1970-01-01
授权
2021-08-17
预估到期
2030-10-27
| 申请号 | CN202022425277.2 |
| 申请日 | 2020-10-27 |
| 授权公布号 | CN213987697U |
| 授权公告日 | 2021-08-17 |
| 分类号 | G07F17/32;G07F11/16;G07F9/02 |
| 分类 | 核算装置; |
| 申请人名称 | 中山市智乐游艺设备有限公司 |
| 申请人地址 | 广东省中山市港口镇胜隆社区居民委员会 |
专利法律状态
2021-08-17
授权
状态信息
授权
摘要
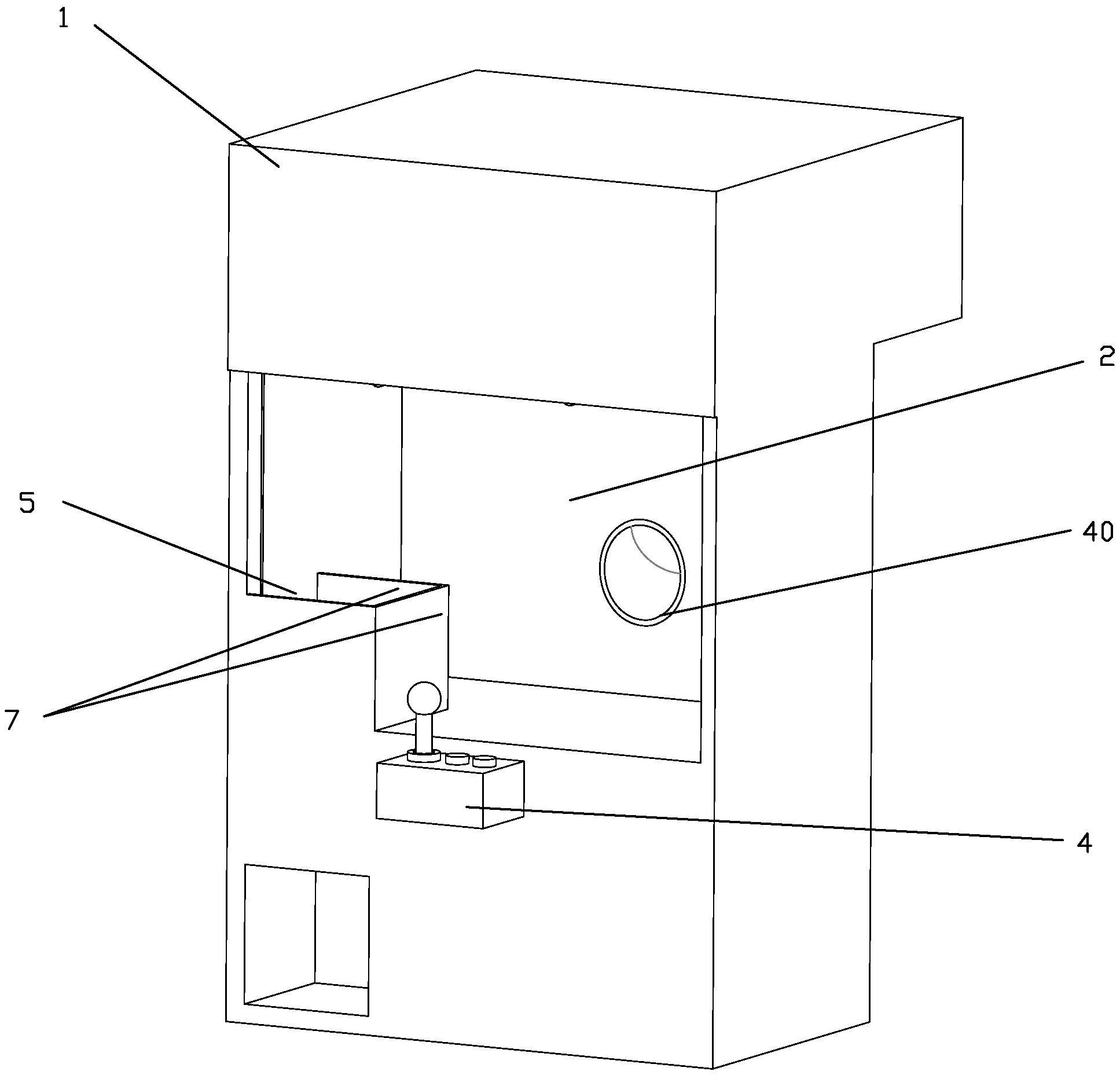
本实用新型公开一种自动补货的夹盲盒机,包括有主体,所述主体内设有能装载盲盒的内腔,所述内腔上方设有能抓取盲盒的抓取装置,所述主体一侧上设有能控制抓取装载工作的控制装置,所述内腔底部设有能让盲盒掉落取出的洞口,所述内腔上方设有能容纳待补充的盲盒的储存腔,所述储存腔内设有能将储存腔内的盲盒补充至内腔中的补货装置,所述洞口内设有盲盒掉落洞口内时能触发补货装置进行补货工作的传感机构,相比现有技术能持续保持夹盲盒机内盲盒的数量,避免了人工不能即时补货的同时,减少维护人员的工作量,提高了消费者的使用率。


