授权公布号:CN214997281U
一种胶粘的窗密封结构
有效
申请
2020-12-31
申请公布
1970-01-01
授权
2021-12-03
预估到期
2030-12-31
| 申请号 | CN202023337858.7 |
| 申请日 | 2020-12-31 |
| 授权公布号 | CN214997281U |
| 授权公告日 | 2021-12-03 |
| 分类号 | E06B7/22;E06B3/263;E06B1/36;E06B1/32;E06B3/58;E06B3/66 |
| 分类 | 一般门、窗、百叶窗或卷辊遮帘;梯子; |
| 申请人名称 | 柯梅令(天津)高分子型材有限公司 |
| 申请人地址 | 天津市津南区经济开发区(东区) |
专利法律状态
2021-12-03
授权
状态信息
授权
摘要
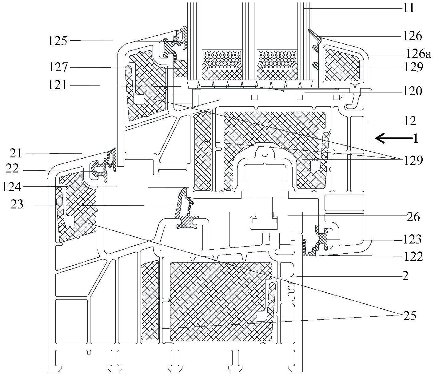
本实用新型公开了一种胶粘的窗密封结构,包括窗扇以及窗框,所述窗扇包括扇框以及玻璃,在所述扇框上设置有安装槽,所述玻璃安装于所述安装槽内;所述扇框上设置有内侧檐,所述内侧檐上设置有内侧密封胶条,所述内侧檐能够压在所述窗框的室内一侧边缘上并通过所述内侧密封胶条密封;所述窗框上设置有外侧檐,所述外侧檐上设置有外侧密封胶条,所述扇框的室外一侧边缘能够压在所述外侧檐上并通过所述外侧密封胶条密封;在所述窗框上并且位于所述外侧密封胶条的靠近室内的一侧还设置有中间密封胶条。采用上述技术方案,整体结构具有三层密封的效果,确保强风压下依旧较好的气密性能。


