授权公布号:CN214576544U
一种扇框、外开窗扇以及外开窗
有效
申请
2020-12-29
申请公布
1970-01-01
授权
2021-11-02
预估到期
2030-12-29
| 申请号 | CN202023256570.7 |
| 申请日 | 2020-12-29 |
| 授权公布号 | CN214576544U |
| 授权公告日 | 2021-11-02 |
| 分类号 | E06B3/58;E06B3/968;E06B3/36;E06B7/14 |
| 分类 | 一般门、窗、百叶窗或卷辊遮帘;梯子; |
| 申请人名称 | 柯梅令(天津)高分子型材有限公司 |
| 申请人地址 | 天津市津南区经济开发区(东区) |
专利法律状态
2021-11-02
授权
状态信息
授权
摘要
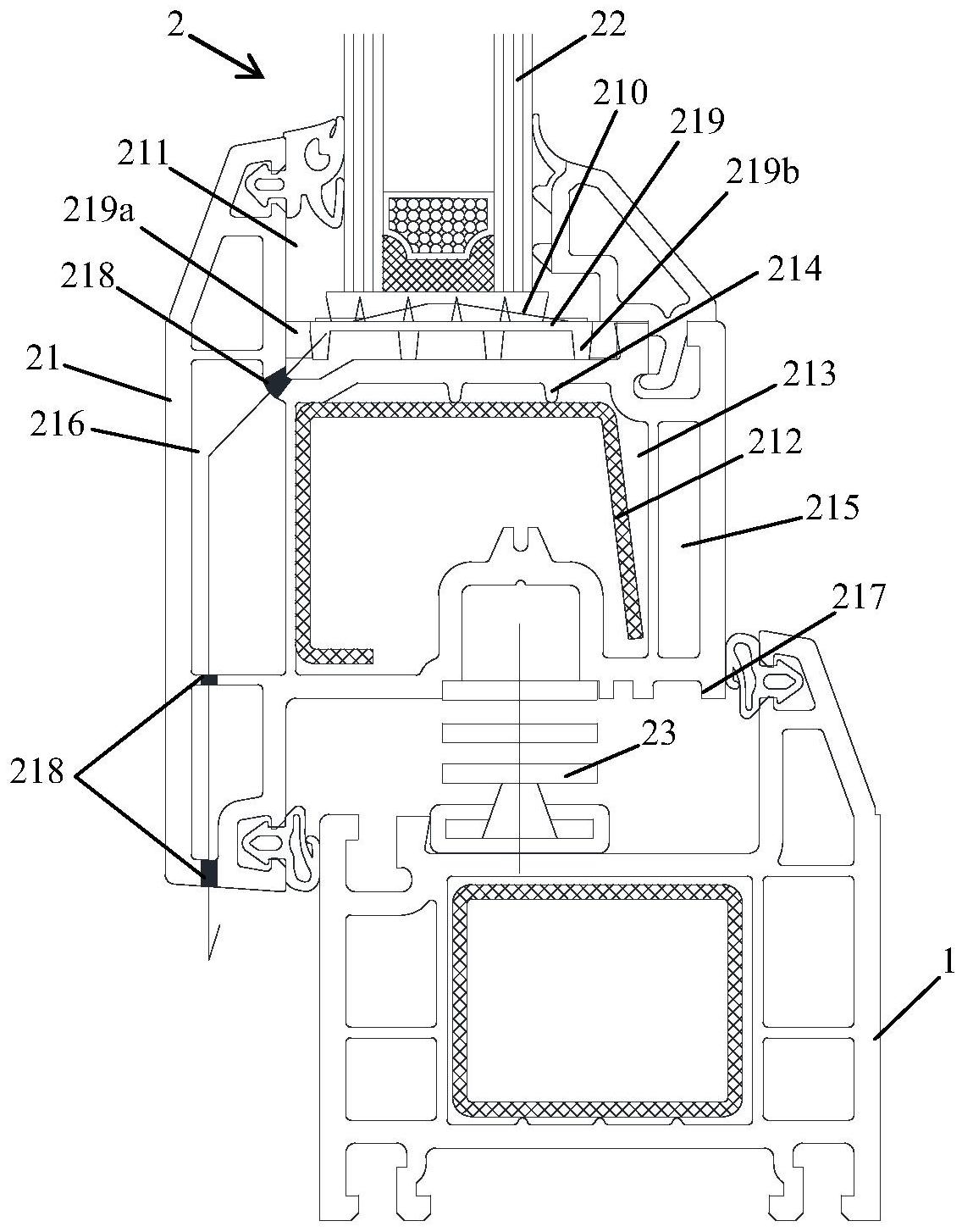
本实用新型公开了一种扇框,在所述扇框内部设置有第一腔室,第一腔室内设置有钢衬;所述扇框的下侧用于通过螺钉安装五金件;在所述第一腔室的上侧壁设置有向下凸出的凸棱,所述钢衬顶在所述凸棱上,从而使钢衬与第一腔室的上侧壁之间具有间隙。本实用新型还提供一种外开窗扇,包括玻璃以及如前所述的扇框,在所述扇框上设置有安装槽,所述玻璃插入所述安装槽内。本实用新型还提供一种外开窗,包括窗框以及如前所述的外开窗扇。采用上述技术方案,本实用新型的扇框、外开窗扇以及外开窗,通过设置凸棱将钢衬与第一腔室的上侧壁之间间隔形成间隙,从而当螺钉安装五金件时穿过钢衬后不会将尖端暴露在外,进而能够避免意外伤人。


