授权公布号:CN217538441U
一种框梃用连接结构
有效
申请
2022-05-09
申请公布
1970-01-01
授权
2022-10-04
预估到期
2032-05-09
| 申请号 | CN202221197179.0 |
| 申请日 | 2022-05-09 |
| 授权公布号 | CN217538441U |
| 授权公告日 | 2022-10-04 |
| 分类号 | E06B3/964;E05D13/00 |
| 分类 | 一般门、窗、百叶窗或卷辊遮帘;梯子; |
| 申请人名称 | 柯梅令(天津)高分子型材有限公司 |
| 申请人地址 | 天津市津南区津南经济开发区(东区) |
专利法律状态
2022-10-04
授权
状态信息
授权
摘要
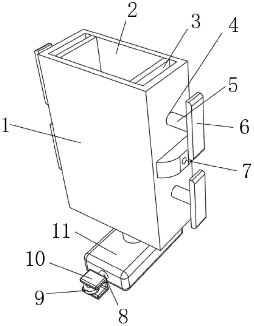
本实用新型涉及门窗连接领域,公开了一种框梃用连接结构,包括壳体,所述壳体底端的中部转动连接有旋转件,所述旋转件的中部螺纹连接有安装螺栓,所述安装螺栓的底端固定连接有滑壳,所述滑壳前后两侧的中部设置有通孔,且通孔的内部滑动连接有移动杆,所述移动杆的一端固定连接有轮座。本实用新型中,首先在滚轮的作用下,将滑壳插入门框型材的内部,并移动至需要固定的位置后,通过转动旋转件并在安装螺栓的作用下,使壳体进升降,进而满足不同厚度的门框型材,提高了使用范围,此时将插入壳体中梃的内部,并在复位弹簧的作用下使滑杆进行伸缩以便于在中梃的内部起到一定的支撑作用,提高了固定的时的稳定性。


