授权公布号:CN214616193U
一种平移推拉门结构
有效
申请
2020-12-31
申请公布
1970-01-01
授权
2021-11-05
预估到期
2030-12-31
| 申请号 | CN202023339095.X |
| 申请日 | 2020-12-31 |
| 授权公布号 | CN214616193U |
| 授权公告日 | 2021-11-05 |
| 分类号 | E06B5/10;E06B3/00;E06B3/46;E06B3/66;E06B3/26;E06B3/30;E06B7/22;E06B1/52;E06B1/34 |
| 分类 | 一般门、窗、百叶窗或卷辊遮帘;梯子; |
| 申请人名称 | 柯梅令(天津)高分子型材有限公司 |
| 申请人地址 | 天津市津南区经济开发区(东区) |
专利法律状态
2021-11-05
授权
状态信息
授权
摘要
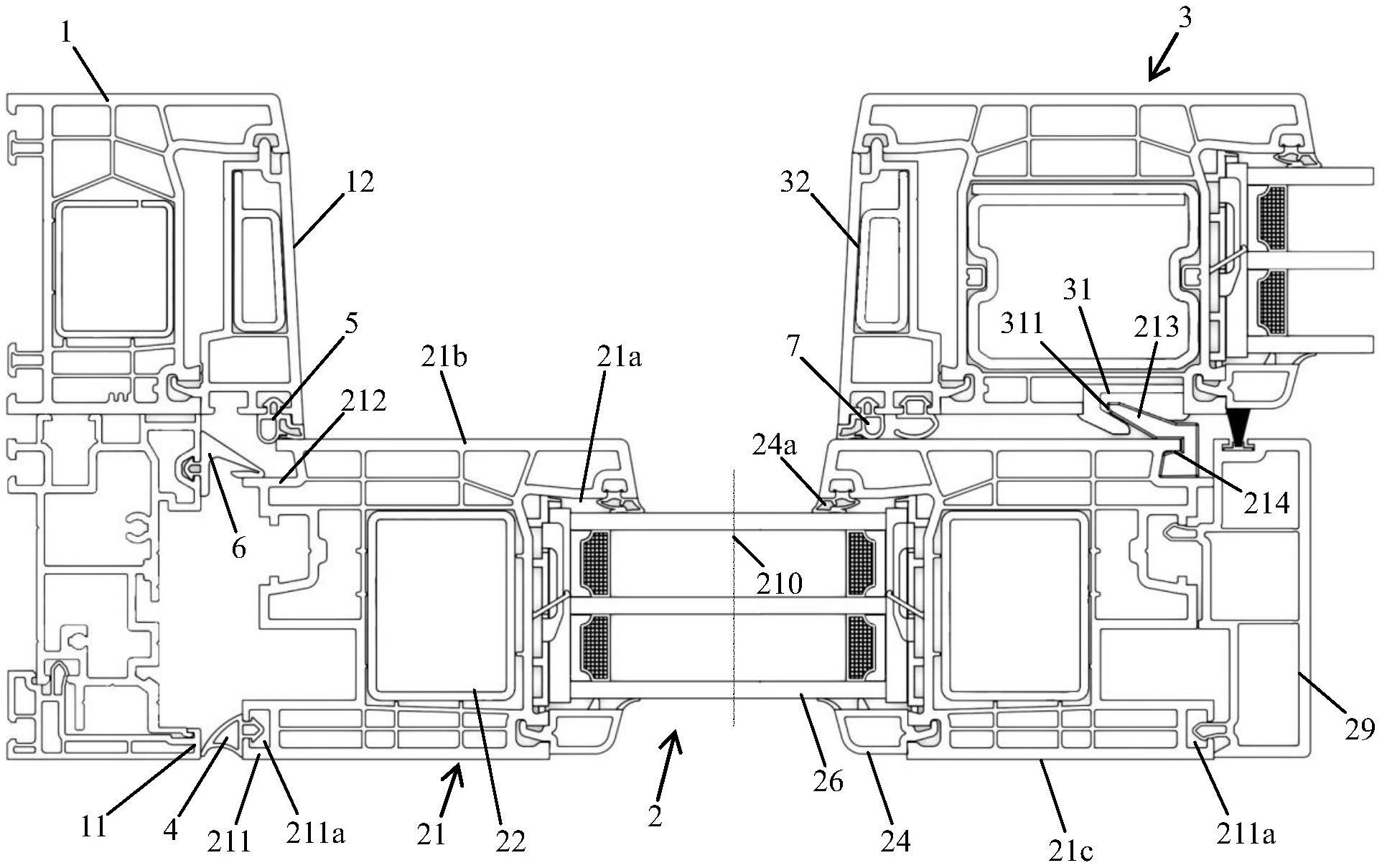
本实用新型公开了一种平移推拉门结构,包括门框以及活动扇和固定扇;所述活动扇包括扇框以及安装在扇框上的玻璃,在所述扇框上设置有安装槽,所述玻璃安装在所述安装槽内;所述扇框包括第一竖直边框以及第二竖直边框,所述扇框的第一竖直边框上设置有第一内侧檐和中间凸棱,一内侧密封条安装在所述第一内侧檐上,所述内侧密封条能够压在位于门框上的第二内侧檐上。采用上述技术方案,本实用新型的平移推拉门结构,具有较好的水密封和气密封性能;作为进一步改进,在活动扇与固定扇之间还设置有第二外侧密封条进行密封,除此之外,还可以在活动扇与固定扇之间设置相互配合密封块与密封插板,从而进一步提高了平移推拉门结构的密封性能。


