授权公布号:CN214576554U
一种门窗扇以及隐扇门窗
有效
申请
2020-12-31
申请公布
1970-01-01
授权
2021-11-02
预估到期
2030-12-31
| 申请号 | CN202023340395.X |
| 申请日 | 2020-12-31 |
| 授权公布号 | CN214576554U |
| 授权公告日 | 2021-11-02 |
| 分类号 | E06B3/66;E06B3/663;E06B3/56;E06B3/58;E06B3/24;E06B7/22 |
| 分类 | 一般门、窗、百叶窗或卷辊遮帘;梯子; |
| 申请人名称 | 柯梅令(天津)高分子型材有限公司 |
| 申请人地址 | 天津市津南区经济开发区(东区) |
专利法律状态
2021-11-02
授权
状态信息
授权
摘要
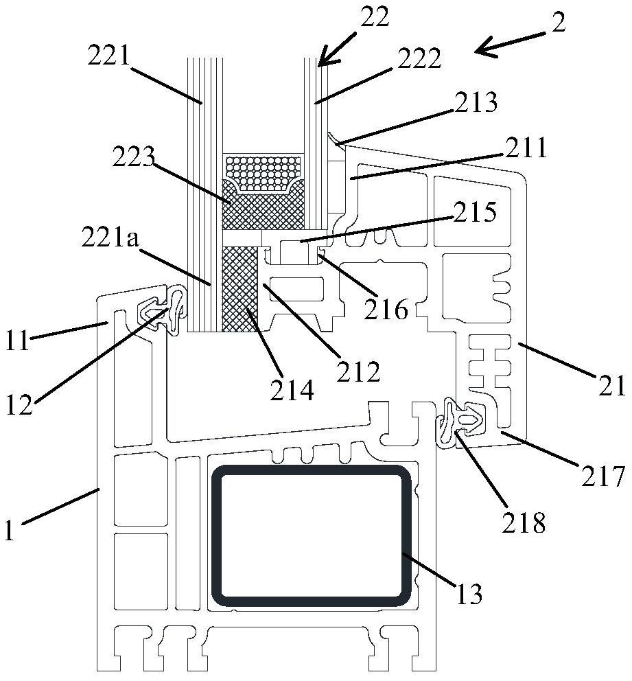
本实用新型公开了一种门窗扇,包括扇框以及玻璃,所述玻璃包括室外侧玻璃片以及室内侧玻璃片,所述室外侧玻璃片的长度大于室内侧玻璃片的长度从而在室外侧玻璃片的边缘位置形成延长段;所述室外侧玻璃片与室内侧玻璃片通过封装胶进行封装固定;所述扇框包括第一檐部以及第二檐部,所述第一檐部上设置有密封压条,所述密封压条压在所述室内侧玻璃片上;所述第二檐部通过粘胶材料体粘接于所述延长段的室内侧。本实用新型还提供一种隐扇门窗,包括门窗框以及如前所述的门窗扇。采用上述技术方案,去掉了扇框的外侧檐部分,通过粘胶材料体将玻璃粘接于扇框上,从而在室外不会直观地观察到扇框的存在,形成隐扇门窗,使门窗的外观较为美观。


